LEMON Manuals: Even more car manuals for everyone: 1960-2025
Home >> Honda >> 2007 >> Element SC, Automatic >> Repair and Diagnosis >> External Pages >> Different car >> Section 8 (Power Steering System (V6)) >> Steering >> Steering Lock Replacement
April 5, 2026: LEMON Manuals is launched! Read the announcement.

Steering Lock Replacement

WARNING: This page does not describe the selected car, but rather 6 other vehicles, including the 2015 Honda Crosstour, 2014 Honda Crosstour, 2013 Honda Crosstour, 2012 Honda Crosstour, and 2011 Honda Accord Crosstour. However, it is still accessible from the selected car via links, so may be relevant.
  1. Remove the steering column (see REMOVAL  ).
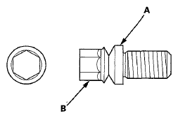
  2. Center-punch both of the two shear bolts (A), and drill their heads off with a 5 mm (0.20 in) drill bit. Be careful not to damage the steering lock when removing the shear bolts.
    Fig 1: Drilling Heads Off Using Drill Bit
    G06423737Courtesy of AMERICAN HONDA MOTOR CO., INC.
  3. Remove the shear bolts from the steering lock (B), then remove the steering lock.
  4. Remove the immobilizer-keyless control unit from the steering lock, then install it on the new steering lock (see IMMOBILIZER-KEYLESS CONTROL UNIT REPLACEMENT ).
  5. Install the steering lock without the key inserted.
  6. Loosely tighten the new shear bolts.
  7. Insert the ignition key, and check for proper operation of the steering wheel lock and that the ignition key turns freely.
  8. Tighten the shear bolts (A) until the hex heads (B) twist off.
    Fig 2: Identifying Shear Bolts And Hex Heads
    G06423738Courtesy of AMERICAN HONDA MOTOR CO., INC.
  9. Install the steering column (see INSTALLATION  ).
  10. Rewrite all new keys to the immobilizer-keyless control unit (see IMMOBILIZER KEY REGISTRATION ), and make sure the immobilizer system works properly.