LEMON Manuals: Even more car manuals for everyone: 1960-2025
Home >> Honda >> 2007 >> Element SC, Automatic >> Repair and Diagnosis >> Transmission >> Automatic Trans >> Automatic Transmission >> A/T Gear Position Indicator >> D3 Switch Test/Replacement
April 5, 2026: LEMON Manuals is launched! Read the announcement.

D3 Switch Test/Replacement

  1. Remove the center lower cover (see CENTER LOWER COVER REMOVAL/INSTALLATION ).
  2. Remove the shift lever console trim (see SHIFT LEVER TRIM REMOVAL/INSTALLATION ).
  3. Move the shift lever to R.
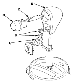
  4. Remove the shift cable insulator (A) from the shift cable (B).
    Fig 1: Identifying Shift Cable Insulator And Shift Cable
    G06267053Courtesy of AMERICAN HONDA MOTOR CO., INC.
  5. Slide the lock tab (A) down on the shift cable end holder (B).
    Fig 2: Identifying Lock Tab And Shift Cable End Holder
    G06267054Courtesy of AMERICAN HONDA MOTOR CO., INC.
  6. Grasp the shift cable lock (C) in the middle with angle-jaw needle-nose pliers (D), and remove it from the shift cable end and shift cable end holder. Do not pry the shift cable lock with a screwdriver, it may damage the shift cable end holder.
  7. Separate the shift cable end (A) from the shift cable end holder (B).
    Fig 3: Identifying Shift Cable End And Shift Cable End Holder
    G06267055Courtesy of AMERICAN HONDA MOTOR CO., INC.
  8. Rotate the socket holder (A) on the shift cable (B) a quarter turn; the tab (C) on the socket holder will be in the opening (D) of the shift cable bracket (E). Then slide the socket holder out to remove the shift cable from the shift cable bracket. Do not remove the shift cable by twisting the shift cable guide (F) and damper (G).
    Fig 4: Rotating Socket Holder On Shift Cable
    G06267056Courtesy of AMERICAN HONDA MOTOR CO., INC.
  9. Remove the shift lever mounting bolts (A).
    Fig 5: Shift Lever Mounting Bolts With Torque Specifications
    G06267057Courtesy of AMERICAN HONDA MOTOR CO., INC.
  10. Remove the shift lever mounting bolt (A), and remove the shift cable bracket (B).
    Fig 6: Shift Lever Mounting Bolt And Shift Cable Bracket With Torque Specifications
    G06267058Courtesy of AMERICAN HONDA MOTOR CO., INC.
  11. Remove the D3 switch/shift lock solenoid connector (C), then disconnect the connector.
  12. Check for continuity between D3 switch/shift lock solenoid connector terminals No. 1 and No. 2 while pressing the D3 switch and when the D3 switch is released. There should be continuity while pressing the D3 switch and no continuity when the D3 switch is released.
  13. If the D3 switch works properly, connect the connector and install the removed parts. If the D3 switch is faulty, go to step 14, and replace the D3 switch.
  14. Remove the shift lever assembly (see SHIFT LEVER REMOVAL ).
  15. Wrap the end of a flat-tip screwdriver with tape, pry the D3 switch cover lock, and remove the D3 switch cover (A).
    Fig 7: Identifying D3 Switch Cover
    G06267059Courtesy of AMERICAN HONDA MOTOR CO., INC.
  16. Remove the D3 switch (A) by expanding its locks, and remove the screws (B), the shift lever button (C), the button spring (D), and the shift lever knob (E).
    Fig 8: Identifying D3 Switch, Shift Lever Button And Screws
    G06267060Courtesy of AMERICAN HONDA MOTOR CO., INC.
  17. Remove the A/T gear position indicator panel light socket (A), then separate the A/T gear position indicator panel (B) from the shift lever bracket (C).
    Fig 9: Identifying A/T Gear Position Indicator Panel Light Socket, A/T Gear Position Indicator Panel And Shift Lever Bracket
    G06267061Courtesy of AMERICAN HONDA MOTOR CO., INC.
  18. Pry the lock tabs on the back of the D3 switch/shift lock solenoid connector (A), and remove the back cover (B).
    Fig 10: Identifying D3 Switch, Shift Lock Solenoid Connector And Back Cover
    G06267062Courtesy of AMERICAN HONDA MOTOR CO., INC.
  19. Remove the terminal (C) from the connector by pushing the lock tab (D) up in the connector using a thin blade screwdriver (E). Remove all four terminals.
  20. Remove the D3 switch harness clamp from the shift lever bracket and from the harness, and pull the D3 switch harness out to remove the shift lever assembly.
  21. Insert the new D3 switch harness (A) into the shift lever ring (B), and route the harness through the groove (C) of the shift lever (D) into the hole (E). Do not pinch the harness.
    Fig 11: Identifying D3 Switch Harness, Shift Lever Ring, Groove And Shift Lever
    G06267063Courtesy of AMERICAN HONDA MOTOR CO., INC.
  22. Wind the D3 switch harness (A) one turn around the clamp (B) on the bottom of the shift lever.
    Fig 12: Identifying D3 Switch Harness, Clamp And Shift Lever
    G06267064Courtesy of AMERICAN HONDA MOTOR CO., INC.
  23. Install the harness clamp (C) at the reference tape (D) on the harness, then install the clamp in the hole (E) of the shift lever bracket (F).
  24. Install the A/T gear position indicator panel (A) on the shift lever bracket. Apply silicone grease to the shift lever button (B), the button spring (C), and the push rod (D) of the shift lever (E), and install the button spring, the shift lever button, and the shift lever knob (F). Install new screws (G), and secure the shift lever knob to the shift lever.
    NOTE: Make sure not to get any silicone grease on the terminal part of the connectors and switches, especially if you have silicone grease on your hands or gloves.
    Fig 13: Identifying A/T Gear Position Indicator Panel And Shift Lever Bracket
    G06267065Courtesy of AMERICAN HONDA MOTOR CO., INC.
  25. Install the D3 switch (H) and the D3 switch cover (I).
  26. Install the A/T gear position indicator panel light socket (A).
    Fig 14: Identifying A/T Gear Position Indicator Panel Light Socket
    G06267066Courtesy of AMERICAN HONDA MOTOR CO., INC.
  27. Install the BLU/RED harness terminal (A) of the shift lock solenoid in the No. 3 cavity, and BLK harness terminal (B) in the No. 4 cavity.
    Fig 15: Identifying BLU/RED Harness Terminal
    G06267067Courtesy of AMERICAN HONDA MOTOR CO., INC.
  28. Install the D3 switch harness terminals (C) in the No. 1 and No. 2 cavities. Either D3 switch harness terminal can be installed in No. 1 and No. 2 cavities.
  29. Make sure that all four terminals lock securely, then install the back cover (D) securely in place.
  30. Install the shift lever assembly (see SHIFT LEVER INSTALLATION ).