LEMON Manuals: Even more car manuals for everyone: 1960-2025
Home >> Honda >> 2007 >> Element SC, Automatic >> Repair and Diagnosis >> Transmission >> Automatic Trans >> Automatic Transmission >> Inspection
April 5, 2026: LEMON Manuals is launched! Read the announcement.

Automatic Transmission: Inspection

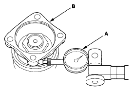
  1. Set a dial indicator (A) on the companion flange (B).
    Fig 1: Identifying Dial Indicator And Companion Flange
    G06267282Courtesy of AMERICAN HONDA MOTOR CO., INC.
  2. Measure the transfer gear backlash.

    Standard: 0.06-0.16 mm (0.002-0.006 in.) 

  3. Secure the transfer housing (A) in a bench vise (B) with soft jaws. To prevent damaging the transfer housing, always use soft jaws or equivalent materials between the transfer housing and the vise.
    Fig 2: Measuring Transfer Gear Backlash
    G06267283Courtesy of AMERICAN HONDA MOTOR CO., INC.
  4. Rotate the companion flange several times to seat the tapered roller bearings.
  5. Measure the starting torque at the companion flange (C) using a torque wrench (D) and a socket (E).

    Standard: 2.75-4.22 N.m (28.1-43.1 kgf.cm, 24.4-37.4 lbf.in.) 

  6. Remove the transfer assembly from the vise.
  7. Remove the transfer holder (A) from the transfer housing (B), then remove the O-ring (C) from the transfer holder.
    Fig 3: Transfer Holder, Transfer Housing And O-Ring With Torque Specifications
    G06267284Courtesy of AMERICAN HONDA MOTOR CO., INC.
  8. Apply Prussian Blue to both sides of the transfer drive gear teeth lightly and evenly.
  9. Install the transfer holder, and tighten the bolts. Do not install the O-ring on the transfer holder.
  10. Rotate the companion flange in both directions until the transfer gears rotate one full turn in both directions.
  11. Remove the transfer holder, and check the transfer drive gear tooth contact pattern. The pattern should be centered on the gear teeth as shown.
    Fig 4: Identifying Transfer Drive Gear Tooth Contact Pattern
    G06267285Courtesy of AMERICAN HONDA MOTOR CO., INC.
  12. If the measurements are out of standard or the tooth contact pattern are incorrect, disassemble the transfer assembly and repair.