LEMON Manuals: Even more car manuals for everyone: 1960-2025
Home >> Honda >> 2007 >> Element SC, Standard >> Repair and Diagnosis >> Accessories & Equipment >> Infotainment >> Navigation System >> General Troubleshooting Information >> Lever-Locked Connector >> Connecting
April 5, 2026: LEMON Manuals is launched! Read the announcement.

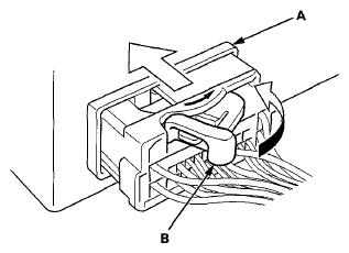
Lever-Locked Connector: Connecting

To connect the connector, push the connector into the connector sleeve (A). As the connector is pressed in, the lever (B) moves to the locked position.

Fig 1: Connecting Lever-Locked Connector
G08049590Courtesy of AMERICAN HONDA MOTOR CO., INC.