LEMON Manuals: Even more car manuals for everyone: 1960-2025
Home >> Honda >> 2007 >> Element SC, Standard >> Repair and Diagnosis >> Electrical >> Charging Systems >> Charging System >> Alternator Overhaul >> Overhaul >> Alternator Reassembly
April 5, 2026: LEMON Manuals is launched! Read the announcement.

Alternator Reassembly

  1. If you removed the pulley, put the rotor in the drive-end housing, then torque its locknut to 110 N.m (11.0 kgf.m, 81.0 lbf.ft).
  2. Remove any grease or any oil from the slip rings.
  3. Put the rear housing assembly and drive-end housing/rotor assembly together, torque the four through bolts.
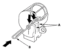
  4. Push in the brushes (A), then insert a pin or drill bit (B) (about 1.6 mm (0.06 in.) diameter) to hold them there.
    Fig 1: Pushing In Brushes
    G05448478Courtesy of AMERICAN HONDA MOTOR CO., INC.
  5. Install the brush holder, and pull out the pin.
    Fig 2: Pulling Out Pin
    G05448479Courtesy of AMERICAN HONDA MOTOR CO., INC.
  6. Install the end cover.
  7. After assembling the alternator, turn the pulley by hand to make sure the rotor rotates smoothly and without noise.
  8. Install the alternator (see INSTALLATION  ) and drive belt (see DRIVE BELT REPLACEMENT  ).