LEMON Manuals: Even more car manuals for everyone: 1960-2025
Home >> Honda >> 2007 >> Element SC, Standard >> Repair and Diagnosis >> Engine Mechanical >> Auxiliary Emission Control Systems >> EVAP System >> EVAP Canister Filter Replacement
April 5, 2026: LEMON Manuals is launched! Read the announcement.

EVAP Canister Filter Replacement

  1. Remove the EVAP canister (see EVAP CANISTER REPLACEMENT  ).
  2. Disconnect the hose (A).
    Fig 1: EVAP Canister & Hose With Torque Specifications
    G05449335Courtesy of AMERICAN HONDA MOTOR CO., INC.
  3. Remove the EVAP canister filter and bracket (B).
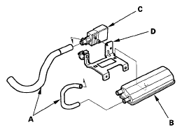
  4. Disconnect the hoses (A).
    Fig 2: Identifying EVAP Canister Filter, Screws & Bracket
    G05449336Courtesy of AMERICAN HONDA MOTOR CO., INC.
  5. Remove the EVAP canister filter (B) from the joint (C) and bracket (D).
  6. Install the parts in the reverse order of removal.