LEMON Manuals: Even more car manuals for everyone: 1960-2025
Home >> Honda >> 2007 >> Element SC, Standard >> Repair and Diagnosis >> Engine Mechanical >> Lubrication System >> Engine Lubrication System >> Engine Oil Level Check
April 5, 2026: LEMON Manuals is launched! Read the announcement.

Engine Oil Level Check

  1. Park the vehicle on level ground, and start the engine. Hold the engine speed at 3,000 rpm with no load (in N or P (A/T Model) or Neutral (M/T model)) until the radiator fan comes on , then turn off the engine, and wait a few minutes.
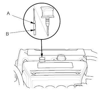
  2. Remove the dipstick, and wipe off the dipstick, then reinstall the dipstick.
  3. Remove the dipstick, and check the engine oil level. It should be between the upper mark (A) and the lower mark (B).
  4. Fig 1: Identifying The Dipstick Upper And Lower Marks
    G00487367Courtesy of AMERICAN HONDA MOTOR CO., INC.
  5. If the engine oil level is near or below the lower mark, add the recommended engine oil to bring it between the upper and lower marks.