LEMON Manuals: Even more car manuals for everyone: 1960-2025
Home >> Honda >> 2007 >> Element SC, Standard >> Repair and Diagnosis >> Engine Mechanical >> Mechanical >> Engine Block >> Connecting Rod Bolt Inspection
April 5, 2026: LEMON Manuals is launched! Read the announcement.

Connecting Rod Bolt Inspection

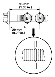
  1. Measure the diameter of each connecting rod bolt at point A and point B.
    Fig 1: Measuring Diameter Of Connecting Rod Bolt
    G05448732Courtesy of AMERICAN HONDA MOTOR CO., INC.
  2. Calculate the difference in diameter between point A and point B.

    Point A - Point B = Difference in Diameter 

    Difference in Diameter: 

    Specification: 0-0.1 mm (0-0.004 in.) 

  3. If the difference in diameter is out of tolerance, replace the connecting rod bolt.