LEMON Manuals: Even more car manuals for everyone: 1960-2025
Home >> Honda >> 2007 >> Element SC, Standard >> Repair and Diagnosis >> External Pages >> Different car >> Section 62 (Window System) >> Lower Rear Window Replacement
April 5, 2026: LEMON Manuals is launched! Read the announcement.

Lower Rear Window Replacement

WARNING: This page does not describe the selected car, but rather 6 other vehicles, including the 2015 Honda Crosstour, 2014 Honda Crosstour, 2013 Honda Crosstour, 2012 Honda Crosstour, and 2011 Honda Accord Crosstour. However, it is still accessible from the selected car via links, so may be relevant.
NOTE:
  • Wear eye protection while cutting the glass adhesive with a piano wire.
  • Put on gloves to protect your hands.
  • Use seat covers to avoid damaging any surfaces.
  • Do not damage the lower rear window defogger grid lines and terminals.
  1. Remove these items:
  2. Disconnect the lower rear window defogger connectors (A).
    Fig 1: Identifying Lower Rear Window Defogger Connectors
    G06419601Courtesy of AMERICAN HONDA MOTOR CO., INC.
  3. Apply protective tape along the inside and outside edges of the tailgate. Make holes with an awl through the upper adhesive from inside the vehicle from both sides of the lower rear window.
  4. From inside the vehicle, carefully cut through the adhesive (A) at the lower area of the lower rear window (B) with a utility knife (C).
    Fig 2: Identifying Lower Area Of Lower Rear Window
    G06419602Courtesy of AMERICAN HONDA MOTOR CO., INC.
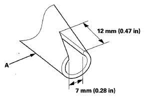
  5. With a helper on the outside, pull the piano wire (A) back and forth in a sawing motion. Hold the piano wire as close to the lower rear window (B) as possible to prevent damage to the body, and carefully cut through the adhesive (C) in the upper area and the corners, but not the lower area.
    Fig 3: Pulling Piano Wire Back And Forth In Sawing Motion
    G06419603Courtesy of AMERICAN HONDA MOTOR CO., INC.

    Cutting positions 

    Fig 4: Identifying Windshield Cutting Positions
    G06419604Courtesy of AMERICAN HONDA MOTOR CO., INC.
  6. Detach the clips (A, B, C) that hold the lower rear window (D), then carefully remove the window.
    Fig 5: Holding Lower Rear Window
    G06419605Courtesy of AMERICAN HONDA MOTOR CO., INC.
  7. If necessary, remove the rear license trim (see REAR LICENSE TRIM REPLACEMENT ).
  8. Scrape smooth the old adhesive with a knife until there is a thickness of about 2 mm (0.08 in) on the bonding surface around the entire lower rear window opening flange.
    NOTE: Do not scrape down to the painted surface of the body; damaged paint will interfere with proper, bonding.

    Remove the fasteners from the tailgate.

  9. Clean the body bonding surface with a shop towel dampened in isopropyl alcohol. After cleaning, keep oil, grease, and water from getting on the surface.
  10. If you are reinstalling the old window, scrape off all of old adhesive, the fasteners, and the rubber dams from the rear window with a putty knife. Clean the bonding surfaces on the inside face and the edge of the rear window with isopropyl alcohol. Make sure the bonding surface is kept free of water, oil, and grease.
  11. Apply glass primer to the clip mounting areas on the lower rear window (A), and let it dry. Attach the upper rubber dam (B), the side rubber dams (C), the clips (D), and the fasteners (E) with the adhesive tape to the inside face of the lower rear window as shown.
    • Make sure the upper rubber dam, the side rubber dams, the clips, and the fasteners line up with the alignment marks (F). If necessary, cut the excess rubber dams.
    • Make sure the index tabs (G) of the left and right clips face the left side.
    • Be careful not to touch the lower rear window where the adhesive will be applied.
    • Fig 6: Applying Glass Primer To Clip Mounting Areas On Lower Rear Window
      G06419606Courtesy of AMERICAN HONDA MOTOR CO., INC.
  12. Apply a light coat of glass primer to the lower rear window (A) along the edge of the rubber dams (B) as shown, then lightly wipe it off with gauze or cheesecloth:
    • Apply the glass primer to the corner areas of the lower rear window using the printed dots (C) on the lower rear window as a guide.
    • Do not apply body primer to the lower rear window, and do not mix up the body and the glass primer applicators.
    • Never touch the primed surfaces with your hands. If you do, the adhesive may not bond to the lower rear window properly, causing a leak after the rear window is installed.
    • Keep water, dust, and abrasive materials away from the primed surfaces.
      Fig 7: Applying Glass Primer To Corner Areas Of Lower Rear Window
      G06419607Courtesy of AMERICAN HONDA MOTOR CO., INC.
  13. Carefully apply a light coat of body primer to any exposed paint or metal around the flange where the new adhesive will be applied. Let the body primer dry for at least 10 minutes:
    • Do not apply body primer to any remaining old adhesive on the flange.
    • Be careful not to mix up the body primer applicators and the glass primer applicators.
    • Never touch the primed surfaces with your hands.
      Fig 8: Applying Light Coat Of Body Primer To Any Exposed Paint Or Metal
      G06419608Courtesy of AMERICAN HONDA MOTOR CO., INC.
  14. Cut a "V" in the end of the nozzle (A) on the adhesive cartridge as shown.
    Fig 9: Identifying "V" In End Of Nozzle On Adhesive Cartridge
    G06419609Courtesy of AMERICAN HONDA MOTOR CO., INC.
  15. Put the cartridge in a caulking gun, and run a continuous bead of the adhesive (A) around the lower rear window (B) along the edge of the rubber dams (C) as shown:
    • Use the printed dots (D) as a guide when you apply the adhesive to the corners of the lower rear window.
    • Apply the adhesive within 30 minutes after applying the glass primer. Make a slightly thicker bead at each corner.
    • Make a slightly thicker bead at each corner.
    • Fig 10: Applying Adhesive To Upper Rear Window Of Rubber Dams
      G06419610Courtesy of AMERICAN HONDA MOTOR CO., INC.
  16. Hold the lower rear window with suction cups over the opening, align the clips, and set it down on adhesive. Lightly push on the lower rear window until its edges are fully seated on adhesive all the way around.
    NOTE: Do not open or close any of the doors for about an hour until adhesive is dry.
  17. Remove the excess adhesive with a putty knife or a shop towel dampened in isopropyl alcohol.
  18. Wait at least an hour for the adhesive to dry, then spray water over the lower rear window and check for leaks. Mark the leaking areas, let the lower rear window dry, then seal with sealant. Let the vehicle stand for at least 4 hours after lower rear window installation. If the vehicle has to be used within the first 4 hours, it must be driven slowly.
  19. Reinstall all remaining removed parts.
    NOTE: Advise the customer not to do the following things for 2 to 3 days:
    • Slam the doors with all the windows rolled up.
    • Twist the body excessively (such as when going in and out of driveways at an angle or driving over rough, uneven roads).