LEMON Manuals: Even more car manuals for everyone: 1960-2025
Home >> Honda >> 2007 >> Element SC, Standard >> Repair and Diagnosis >> External Pages >> Different car >> Section 62 (Window System) >> Quarter Glass Replacement
April 5, 2026: LEMON Manuals is launched! Read the announcement.

Quarter Glass Replacement

WARNING: This page does not describe the selected car, but rather 6 other vehicles, including the 2015 Honda Crosstour, 2014 Honda Crosstour, 2013 Honda Crosstour, 2012 Honda Crosstour, and 2011 Honda Accord Crosstour. However, it is still accessible from the selected car via links, so may be relevant.
NOTE:
  • Wear eye protection when removing the glass with piano wire.
  • Put on gloves to protect your hands.
  • Use seat covers to avoid damaging any surfaces.
  • Use a clip remover to remove the clips.
  1. Remove the quarter pillar trim (see QUARTER PILLAR TRIM ).
  2. Remove the front seal (A) from the front edge of the quarter glass (B). If necessary, cut the seal with a utility knife.
    Fig 1: Identifying Front Seal Of Quarter Glass
    G06419611Courtesy of AMERICAN HONDA MOTOR CO., INC.
  3. Apply protective tape along the inside and outside edges of the body. From pillar side the vehicle, to cut the front clips (A) with a utility knife (B) of the quarter glass molding (C).
    Fig 2: Applying Protective Tape And Outside Edges Of Body
    G06419612Courtesy of AMERICAN HONDA MOTOR CO., INC.
  4. From inside the vehicle, cut through the adhesive (A) of the quarter glass with a utility knife (B).
    Fig 3: Cutting Adhesive Of Quarter Glass With Utility Knife
    G06419613Courtesy of AMERICAN HONDA MOTOR CO., INC.
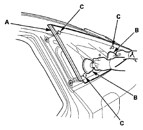
  5. While an assistant is holding the quarter glass (A), detach the clip with a clip remover from inside the vehicle, then carefully remove the quarter glass.
    Fig 4: Detaching Clip With Clip Remover
    G06419614Courtesy of AMERICAN HONDA MOTOR CO., INC.
  6. Scrape smooth the old adhesive with a knife until there is a thickness of about 2 mm (0.08 in) on the bonding surface around the entire quarter glass opening flange:
    • Do not scrape down to the painted surface of the body; damaged paint will interfere with proper bonding.
    • Remove the clips from the body.
  7. Clean the body bonding surface with a shop towel dampened in isopropyl alcohol. After cleaning, keep oil, grease, and water from getting on the surface.
  8. If you are reinstalling the old glass, scrape off all of the old adhesive with a putty knife and the damaged clips from the quarter glass. Clean the bonding surfaces on the inside face and the edge of the quarter glass with isopropyl alcohol. Make sure the bonding surface is kept free of water, oil, and grease.
  9. Attach the new front seal (A) with adhesive tape to the inside face of the quarter glass (B) as shown. Before installing the front seal, apply primer to the inside face of the quarter glass.
    Fig 5: Attaching Front Seal With Adhesive Tape
    G06419615Courtesy of AMERICAN HONDA MOTOR CO., INC.
  10. Apply a light coat of glass primer to the quarter glass (A) and the front seal (B) as shown, then lightly wipe it off with gauze or cheesecloth:
    • Apply the glass primer to the rear corner, upper corner and lower corner areas of the quarter glass using the printed dots (C) on the quarter glass as a guide.
    • Do not apply body primer to the quarter glass, and do not mix up the body and the glass primer applicators.
    • Never touch the primed surfaces with your hands. If you do, adhesive may not bond to the quarter glass properly, causing a leak after the quarter glass is installed.
    • Keep water, dust, and abrasive materials away from the primed surfaces.
      Fig 6: Applying Light Coat Of Glass Primer To Quarter Glass
      G06419616Courtesy of AMERICAN HONDA MOTOR CO., INC.
  11. Carefully apply a light coat of body primer to any exposed paint or metal around the flange where the new adhesive will be applied. Let the body primer dry for at least 10 minutes:
    • Do not apply body primer to any remaining old adhesive on the flange.
    • Be careful not to mix up the body and the glass primer applicators.
    • Never touch the primed surfaces with your hands.
      Fig 7: Applying Light Coat Of Body Primer To Exposed Paint
      G06419617Courtesy of AMERICAN HONDA MOTOR CO., INC.
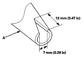
  12. Cut a "V" in the end of the nozzle (A) on the adhesive cartridge as shown.
    Fig 8: Identifying "V" In End Of Nozzle On Adhesive Cartridge
    G06419618Courtesy of AMERICAN HONDA MOTOR CO., INC.
  13. Put the cartridge in a caulking gun, and run a continuous bead of the adhesive (A) around the quarter glass (B) and along the front seal (C) as shown:
    • Use the printed dots (D) as a guide when you apply the adhesive to the corners of the lower rear window.
    • Apply the adhesive within 30 minutes after applying the glass primer. Make a slightly thicker bead at each corner.
    • Make a slightly thicker bead at each corner.
    • Fig 9: Identifying Quarter Glass And Front Seal
      G06419619Courtesy of AMERICAN HONDA MOTOR CO., INC.
  14. Hold the quarter glass (A) with suction cups (B) over the opening, align it with the clips (C), and set it down on the adhesive. Lightly push on the quarter glass until its edges are fully seated on the adhesive all the way around.
    NOTE: Do not open or close any of the doors for about an hour until adhesive is dry.
    Fig 10: Identifying Quarter Glass, Suction Cups And Clips
    G06419620Courtesy of AMERICAN HONDA MOTOR CO., INC.
  15. Remove the excess adhesive with a putty knife or a shop towel dampened with isopropyl alcohol.
  16. Wait at least an hour for the adhesive to dry, then spray water over the quarter glass and check for leaks. Mark the leaking areas, let the quarter glass dry, then seal with sealant. Let the vehicle stand for at least 4 hours after quarter glass installation. If the vehicle has to be used within the first 4 hours, it must be driven slowly.
  17. Reinstall all remaining removed parts.
    NOTE: Advise the customer not to do the following things for 2 to 3 days:
    • Slam the doors with all the windows rolled up.
    • Twist the body excessively (such as when going in and out of driveways at an angle or driving over rough, uneven roads).