LEMON Manuals: Even more car manuals for everyone: 1960-2025
Home >> Honda >> 2007 >> Element SC, Standard >> Repair and Diagnosis >> Transmission >> Manual Trans >> Manual Transmission >> Transfer Assembly Reassembly >> 35 mm Thrust Shim Selection
April 5, 2026: LEMON Manuals is launched! Read the announcement.

35 mm Thrust Shim Selection

NOTE: Do not use more than one 35 mm thrust shim to adjust the transfer gear backlash.
  1. Select the 35 mm thrust shim if the transfer output shaft is replaced. Calculate the thickness of the 35 mm thrust shim using the formula, and select the replacement 35 mm thrust shim from the table.
    NOTE: The number on the transfer output shaft is shown in 1/100 mm.
    Fig 1: Identifying Shim Thickness Calculation
    G05455727Courtesy of AMERICAN HONDA MOTOR CO., INC.

    A: Number on the existing transfer output shaft 

    B: Number on the replacement transfer output shaft 

    C: Thickness of the existing 35 mm thrust shim 

    X: Thickness needed for the replacement 35 mm thrust shim 

    Example: 

    Fig 2: Identifying Thrust Shim
    G05449577Courtesy of AMERICAN HONDA MOTOR CO., INC.

    Select No. M 35 mm thrust shim of 1.08 mm (0.043 in) in this cause.

    35 mm Thrust Shim 

    THRUST SHIM THICKNESS TABLE

    Shim No. Part Number Thickness
    A 41361-PS3-000 0.72 mm (0.028 in.)
    B 41362-PS3-000 0.75 mm (0.030 in.)
    C 41363-PS3-000 0.78 mm (0.031 in.)
    D 41364-PS3-000 0.81 mm (0.032 in.)
    E 41365-PS3-000 0.84 mm (0.033 in.)
    F 41366-PS3-000 0.87 mm (0.034 in.)
    G 41367-PS3-000 0.90 mm (0.035 in.)
    H 41368-PS3-000 0.93 mm (0.037 in.)
    I 41369-PS3-000 0.96 mm (0.038 in.)
    J 41370-PS3-000 0.99 mm (0.039 in.)
    K 41371-PS3-000 1.02 mm (0.040 in.)
    L 41372-PS3-000 1.05 mm (0.041 in.)
    M 41373-PS3-000 1.08 mm (0.043 in.)
    N 41374-PS3-000 1.11 mm (0.044 in.)
  2. Select the 35 mm thrust shim if the tapered roller bearing on the transfer output shaft is replaced. Measure the thickness of the replacement bearing and the existing bearing, and calculate the difference of the bearing thickness. Adjust the thickness of the existing 35 mm thrust shim by the amount of the difference in bearing thickness, and select the replacement 35 mm thrust shim from the table.
  3. Transfer Gear Backlash Inspection and Transfer Gear Tooth Contact Inspection 

  4. Install the 35 mm thrust shim (A) on the transfer output shaft (B), then install the 62 mm tapered roller bearing (C) using the driver handle (D), 35 mm I.D. attachment (E), and a press.
    Fig 3: Installing Thrust Shim, Transfer Output Shaft & Tapered Roller Bearing With Driver Handle
    G05449578Courtesy of AMERICAN HONDA MOTOR CO., INC.
  5. Install the 50 mm tapered roller bearing (A) in the transfer housing.
    Fig 4: Identifying Tapered Roller Bearing
    G05449579Courtesy of AMERICAN HONDA MOTOR CO., INC.
  6. Install the new oil seal (B) in the transfer housing using the oil seal driver attachment (C) and driver (D).
    NOTE: Install the oil seal in the direction shown below.
  7. Install the transfer output shaft (A) in the transfer housing (B).
    NOTE: Do not install the transfer spacer in this step. A
    Fig 5: Identifying Transfer Output Shaft In Transfer Housing
    G05449580Courtesy of AMERICAN HONDA MOTOR CO., INC.
  8. Install the companion flange (A), new conical spring washer (B), and new locknut (C) on the transfer output shaft (D).
    NOTE:
    • Do not install the O-ring and the back-up ring in this step.
    • Install the conical spring washer in the direction shown below.
    • Coat the threads of the locknut and the shaft with manual transmission fluid (MTF) before installing the locknut.
      Fig 6: Identifying Companion Flange, Conical Spring Washer & Locknut & Transfer Output Shaft
      G05449581Courtesy of AMERICAN HONDA MOTOR CO., INC.
  9. Securely clamp the transfer housing (A) in a bench vise (B) with wood blocks. Then install the holder handle (C) and companion flange holder (D) on the companion flange.
    Fig 7: Identifying Holder Handle & Companion Flange Holder
    G05449582Courtesy of AMERICAN HONDA MOTOR CO., INC.
  10. Tighten the locknut while measuring the starting torque so the starting torque is within 0.98-1.39 N.m (10.0-14.2 kgf.cm, 8.7-12.3 lbf.in.).
    NOTE: Do not stake the locknut in this step.

    Starting Torque: 0.98-1.39 N.m (10.0-14.2 kgf.cm, 8.7-12.3 lbf.in.) 

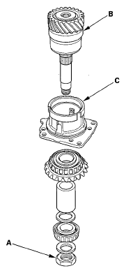
  11. Install the transfer shaft assembly (A) in the transfer holder (B), then install the transfer drive gear (C), transfer collar (D), 25 mm thrust shim (E), 57 mm tapered roller bearing (F), new conical spring washer (G), and new transfer shaft locknut (H) on the transfer shaft assembly.
    NOTE:
    • Coat the threads of the locknut and the shaft with MTF before installing the locknut.
    • Install the conical spring washer in the direction shown below.
      Fig 8: Identifying Transfer Shaft Assembly, Transfer Holder & Transfer Drive Gear
      G05449583Courtesy of AMERICAN HONDA MOTOR CO., INC.
  12. Hold the transfer shaft assembly (A) with a 14 mm hex wrench (B) clamped in a bench vise, and tighten the transfer shaft locknut.
    NOTE: Do not stake the locknut in this step.

    Torque: 118 N.m (12.0 kgf.m, 86.8 lbf.ft) 

    Fig 9: Identifying Transfer Shaft Assembly & Hex Wrench
    G05449584Courtesy of AMERICAN HONDA MOTOR CO., INC.
  13. Apply Prussian Blue to both sides of the transfer drive gear teeth lightly and evenly.
  14. Install the dowel pin (A) and transfer holder assembly (B) in the transfer housing (C).
    NOTE: Do not install the O-ring in this step.
    Fig 10: Dowel Pin, Transfer Holder Assembly & Transfer Housing With Torque Specifications
    G05449585Courtesy of AMERICAN HONDA MOTOR CO., INC.
  15. Rotate the companion flange several times to seat the tapered roller bearings.
  16. Set a dial indicator (A) on the companion flange (B), then measure the transfer gear backlash.

    Standard: 0.06-0.16 mm (0.002-0.006 in.) 

    Fig 11: Setting Dial Indicator On Companion Flange
    G05449586Courtesy of AMERICAN HONDA MOTOR CO., INC.
  17. Remove the transfer holder, and check the transfer drive gear tooth contact pattern.

    CORRECT TOOTH CONTACT PATTERN 

    Fig 12: Identifying Correct Tooth Contact Pattern
    G05449587Courtesy of AMERICAN HONDA MOTOR CO., INC.

    INCORRECT TOOTH CONTACT PATTERN 

    Fig 13: Identifying Incorrect Tooth Contact Pattern
    G05449588Courtesy of AMERICAN HONDA MOTOR CO., INC.
  18. If the transfer drive gear tooth contact is incorrect, adjust the transfer gear tooth contact with a 25 mm or 35 mm thrust shim. If the gear tooth contact is correct, go to step  18.
    NOTE: Do not use more than one of each thrust shim to adjust the transfer drive gear tooth contact.
    • Toe Contact

      Use a thinner 35 mm thrust shim to move the transfer output shaft away from the transfer drive gear. Because this movement causes the transfer gear backlash to change, move the transfer drive gear toward the transfer output shaft to adjust the transfer gear backlash as follows:

      • Reduce the thickness of the 25 mm thrust shim.
      • Increase the thickness of the 76 mm thrust shim by the amount you reduced the thickness of the 25 mm thrust shim.
    • Heel Contact

      Use a thicker 35 mm thrust shim to move the transfer output shaft toward the transfer drive gear. Because this movement causes the transfer gear backlash to change, move the transfer drive gear away from the transfer output shaft to adjust the transfer gear backlash as follows:

      • Increase the thickness of the 25 mm thrust shim.
      • Reduce the thickness of the 76 mm thrust shim by the amount you increased the thickness of the 25 mm thrust shim.
    • Flank Contact

      Use a thicker 25 mm thrust shim to move the transfer drive gear away from the transfer output shaft. Flank contact must be adjusted within the limits of the transfer gear backlash. If the backlash exceeds the limits, adjust as described under Heel Contact.

    • Face Contact

      Use a thinner 25 mm thrust shim to move the transfer drive gear toward the transfer output shaft. Face contact must be adjusted within the limits of the transfer gear backlash. If the backlash exceeds the limits, adjust as described under Toe Contact.

      25 mm Thrust Shim 

      THRUST SHIM THICKNESS TABLE

      Shim No. Part Number Thickness
      1.70 29411-P1C-000 1.70 mm (0.067 in.)
      1.73 29412-P1C-000 1.73 mm (0.068 in.)
      1.76 29413-P1C-000 1.76 mm (0.069 in.)
      1.79 29414-P1C-000 1.79 mm (0.070 in.)
      1.82 29415-P1C-000 1.82 mm (0.072 in.)
      1.85 29416-P1C-000 1.85 mm (0.073 in.)
      1.88 29417-P1C-000 1.88 mm (0.074 in.)
      1.91 29418-P1C-000 1.91 mm (0.075 in.)
      1.94 29419-P1C-000 1.94 mm (0.076 in.)
      1.97 29420-P1C-000 1.97 mm (0.078 in.)
      2.00 29421-P1C-000 2.00 mm (0.079 in.)
      2.03 29422-P1C-000 2.03 mm (0.080 in.)
      2.06 29423-P1C-000 2.06 mm (0.081 in.)
      2.09 29424-P1C-000 2.09 mm (0.082 in.)
      2.12 29425-P1C-000 2.12 mm (0.083 in.)
      2.15 29426-P1C-000 2.15 mm (0.085 in.)
      2.18 29427-P1C-000 2.18 mm (0.086 in.)
      2.21 29428-P1C-000 2.21 mm (0.087 in.)
      2.24 29429-P1C-000 2.24 mm (0.088 in.)
  19. Measure the transfer gear backlash again.
  20. Remove the transfer holder assembly (A) from the transfer housing (B).
    Fig 14: Identifying Transfer Holder Assembly & Transfer Housing
    G05449589Courtesy of AMERICAN HONDA MOTOR CO., INC.
  21. Securely clamp the transfer housing (A) in a bench vise (B) with wood blocks.
    Fig 15: Identifying Transfer Housing & Bench Vise
    G05449590Courtesy of AMERICAN HONDA MOTOR CO., INC.
  22. Install the holder handle (C) and companion flange holder (D) on the companion flange, then loosen the transfer output shaft locknut.
  23. Remove the locknut (A), conical spring washer (B), and companion flange (C) from the transfer output shaft (D).
    Fig 16: Identifying Locknut, Conical Spring Washer, Companion Flange & Transfer Output Shaft
    G05449591Courtesy of AMERICAN HONDA MOTOR CO., INC.
  24. Remove the transfer output shaft from the transfer housing (E).
  25. Install the new transfer spacer (A) on the transfer output shaft (B) in the direction shown below, then install them in the transfer housing (C).
    Fig 17: Identifying Transfer Spacer, Transfer Output Shaft & Transfer Housing
    G05449592Courtesy of AMERICAN HONDA MOTOR CO., INC.
  26. Install the companion flange (A), new O-ring (B), back-up ring (C), conical spring washer (D), and locknut (E) on the transfer output shaft (F).
    NOTE:
    • Coat the threads of the locknut, O-ring, and transfer output shaft with MTF before installing the locknut.
    • Install the conical spring washer in the direction shown.
      Fig 18: Identifying Companion Flange, O-Ring, Back-Up Ring, Conical Spring Washer And Locknut
      G05449593Courtesy of AMERICAN HONDA MOTOR CO., INC.
  27. Securely clamp the transfer housing (A) in a bench vise (B) with wood blocks.
    Fig 19: Tightening Transfer Housing In Bench Vise With Wood Blocks
    G05449594Courtesy of AMERICAN HONDA MOTOR CO., INC.
  28. Install the holder handle (C) and companion flange holder (D) on the companion flange, then tighten the transfer output shaft locknut while measuring the starting torque of the transfer output shaft.
    NOTE:
    • Rotate the companion flange several times to seat the tapered roller bearings, then measure the starting torque.
    • If the starting torque exceeds 1.39 N.m (14.2 kgf.cm, 12.3 lbf.in.), replace the transfer spacer and reassemble the parts. Do not adjust the starting torque with the locknut loose.
    • If the tightening torque exceeds 260 N.m (26.5 kgf.m, 192 lbf.ft), replace the transfer spacer and reassemble the parts.
    • Write down the measurement of the starting torque, it is used to measure the total starting torque.

    Starting Torque: 0.98-1.39 N.m (10.0-14.2 kgf.cm, 8.7-12.3 lbf.in.) 

    Tightening Torque: 132-260 N.m (13.5-26.5 kgf.m, 97.6-192 lbf.ft) 

  29. Remove the holder handle and companion flange holder.
  30. Stake the locknut into the transfer output shaft using a 3.5 mm punch.
    Fig 20: Identifying Holder Handle & Companion Flange Holder
    G05449595Courtesy of AMERICAN HONDA MOTOR CO., INC.
  31. Install the dowel pin (A) in the transfer housing (B), then install the transfer holder assembly (C).
    NOTE: Do not install the O-ring in this step.
    Fig 21: Dowel Pin, Transfer Housing & Transfer Holder Assembly With Torque Specifications
    G05449596Courtesy of AMERICAN HONDA MOTOR CO., INC.
  32. Securely clamp the transfer housing (A) in a bench vise (B) with wood blocks. Then rotate the companion flange several times to seat the tapered roller bearings.
    Fig 22: Rotating Companion Flange To Tapered Roller Bearings
    G05449597Courtesy of AMERICAN HONDA MOTOR CO., INC.
  33. Measure the total starting torque using the torque wrench (C).

    Total Starting Torque: 1.30-2.47 N.m (13.3-25.2 kgf.cm, 11.5-21.9 lbf.in) + Transfer Driven Gear Shaft Starting Torque Value (written down in step   25 ). 

  34. Remove the transfer holder assembly from the transfer housing.
  35. If the measurement is not within the standard, go to step  35.

    If the measurement is within the standard, go to step  47.

  36. Hold the transfer shaft (A) with a 14 mm hex wrench (B) clamped in a bench vise then loosen the locknut.
    Fig 23: Holding Transfer Shaft With Hex Wrench
    G05449598Courtesy of AMERICAN HONDA MOTOR CO., INC.
  37. Remove the locknut (A) and transfer shaft assembly (B) from the transfer holder (C).
    Fig 24: Identifying Locknut, Transfer Shaft Assembly & Transfer Holder
    G05449599Courtesy of AMERICAN HONDA MOTOR CO., INC.
  38. Remove the 76 mm tapered roller bearing outer race (A) and 76 mm thrust shim (B) from the transfer holder (C).
    Fig 25: Identifying Tapered Roller Bearing Outer Race, Thrust Shim & Transfer Holder
    G05449600Courtesy of AMERICAN HONDA MOTOR CO., INC.
  39. Measure the thickness of the removed 76 mm thrust shim, and select a new 76 mm thrust shim.

    76 mm Thrust Shim 

    THRUST SHIM THICKNESS TABLE

    Shim No. Part Number Thickness
    A 41361-PPS-000 1.20 mm (0.047 in.)
    B 41362-PPS-000 1.23 mm (0.048 in.)
    C 41363-PPS-000 1.26 mm (0.049 in.)
    D 41364-PPS-000 1.29 mm (0.050 in.)
    E 41365-PPS-000 1.32 mm (0.052 in.)
    F 41366-PPS-000 1.35 mm (0.053 in.)
    G 41367-PPS-000 1.38 mm (0.054 in.)
    H 41368-PPS-000 1.41 mm (0.055 in.)
    J 41369-PPS-000 1.44 mm (0.057 in.)
    K 41370-PPS-000 1.47 mm (0.058 in.)
    L 41371-PPS-000 1.50 mm (0.059 in.)
    M 41372-PPS-000 1.53 mm (0.060 in.)
    N 41373-PPS-000 1.56 mm (0.061 in.)
    P 41374-PPS-000 1.59 mm (0.062 in.)
    R 41375-PPS-000 1.62 mm (0.064 in.)
    S 41376-PPS-000 1.65 mm (0.065 in.)
    T 41377-PPS-000 1.68 mm (0.066 in.)
    U 41378-PPS-000 1.71 mm (0.067 in.)
    W 41379-PPS-000 1.74 mm (0.068 in.)
    X 41380-PPS-000 1.77 mm (0.070 in.)
    Y 41381-PPS-000 1.80 mm (0.071 in.)
    Z 41382-PPS-000 1.83 mm (0.072 in.)
    AA 41383-PPS-000 1.86 mm (0.073 in.)
    AB 41384-PPS-000 1.89 mm (0.074 in.)
    AC 41385-PPS-000 1.92 mm (0.076 in.)
    AD 41386-PPS-000 1.95 mm (0.077 in.)
    AE 41387-PPS-000 1.98 mm (0.078 in.)
    AF 41388-PPS-000 2.01 mm (0.079 in.)
    AG 41389-PPS-000 2.04 mm (0.080 in.)
    AH 41390-PPS-000 2.07 mm (0.081 in.)
    AJ 41391-PPS-000 2.10 mm (0.083 in.)
    AK 41392-PPS-000 2.13 mm (0.084 in.)
    AL 41393-PPS-000 2.16 mm (0.085 in.)
    AM 41394-PPS-000 2.19 mm (0.086 in.)
    AN 41395-PPS-000 2.22 mm (0.087 in.)
    AP 41396-PPS-000 2.25 mm (0.089 in.)
    AR 41397-PPS-000 2.28 mm (0.090 in.)
    AS 41398-PPS-000 2.31 mm (0.091 in.)
    AT 41399-PPS-000 2.34 mm (0.092 in.)
    AU 41400-PPS-000 2.37 mm (0.093 in.)
    AW 41401-PPS-000 2.40 mm (0.094 in.)
    AX 41402-PPS-000 2.43 mm (0.096 in.)
    AY 41403-PPS-000 2.46 mm (0.097 in.)
    AZ 41404-PPS-000 2.49 mm (0.098 in.)
    BA 41405-PPS-000 2.52 mm (0.099 in.)
    BB 41406-PPS-000 2.55 mm (0.100 in.)
    BC 41407-PPS-000 2.58 mm (0.102 in.)
    BD 41408-PPS-000 2.61 mm (0.103 in.)
    BE 41409-PPS-000 2.64 mm (0.104 in.)
    BF 41410-PPS-000 2.67 mm (0.105 in.)
  40. Install the selected 76 mm thrust shim (A) in the transfer holder (B).
    Fig 26: Installing Thrust Shim In Transfer Holder
    G05449601Courtesy of AMERICAN HONDA MOTOR CO., INC.
  41. Install the 76 mm tapered roller bearing outer race (C) using the 72 x 75 mm attachment (D), driver (E), and a press in the direction shown.
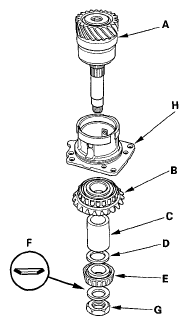
  42. Install the transfer shaft assembly (A), transfer drive gear (B), transfer collar (C), 25 mm thrust shim (D), 57 mm tapered roller bearing (E), conical spring washer (F), and transfer shaft locknut (G) in the transfer holder (H).
    Fig 27: Identifying Transfer Shaft Assembly
    G05449602Courtesy of AMERICAN HONDA MOTOR CO., INC.
  43. Hold the transfer shaft assembly (A) with a 14 mm hex wrench (B) clamped in a bench vise, then tighten the transfer shaft locknut.
    NOTE: Do not stake the locknut in this step.
    Fig 28: Holding Transfer Shaft Assembly
    G05449603Courtesy of AMERICAN HONDA MOTOR CO., INC.

    Tightening Torque: 118 N.m (12.0 kgf.m, 86.8 lbf.ft) 

  44. Install the dowel pin (A) in the transfer housing (B), then install the transfer holder assembly (C).
    NOTE: Do not install the O-ring in the step.
    Fig 29: Dowel Pin, Transfer Housing & Transfer Holder Assembly With Torque Specifications
    G05449604Courtesy of AMERICAN HONDA MOTOR CO., INC.
  45. Rotate the companion flange several times to seat the tapered roller bearings.
  46. Recheck and make sure the total starting torque is within the standard.
  47. Remove the transfer holder assembly from the transfer housing.
  48. Stake the locknut on the transfer shaft using a 3.5 mm punch.
    Fig 30: Identifying Transfer Holder Assembly Of Transfer Housing
    G05449605Courtesy of AMERICAN HONDA MOTOR CO., INC.
  49. Coat the new O-ring (A) with MTF, install it on the transfer holder assembly (B), then install the dowel pin (C) and transfer holder assembly in the transfer housing (D).
    Fig 31: O-Ring, MTF, Transfer Holder Assembly & Dowel Pin With Torque Specifications
    G05449606Courtesy of AMERICAN HONDA MOTOR CO., INC.

SUPPLEMENTAL RESTRAINT SYSTEM (SRS) (If automatic transmission maintenance is required) 

The ELEMENT SRS includes a driver's airbag in the steering wheel hub, a passenger's airbag in the dashboard above the glove box, seat belt tensioners in the front seat belt retractors, seat belt buckle tensioners in the front seat belt buckles, side curtain airbags in the sides of the roof, and side airbags in the front seat-backs. Information necessary to safely service the SRS is included in this Service Manual. Items marked with an asterisk (*) on the contents page include or are located near SRS components. Servicing, disassembling, or replacing these items require special precautions and tools, and should be done only by an authorized Honda dealer.