LEMON Manuals: Even more car manuals for everyone: 1960-2025
Home >> Honda >> 2007 >> Fit Base, Automatic >> Repair and Diagnosis >> Engine Performance >> System >> Fuel And Emissions Systems >> System Description >> Evaporative Emission (EVAP) Control Diagram >> Notes
April 5, 2026: LEMON Manuals is launched! Read the announcement.

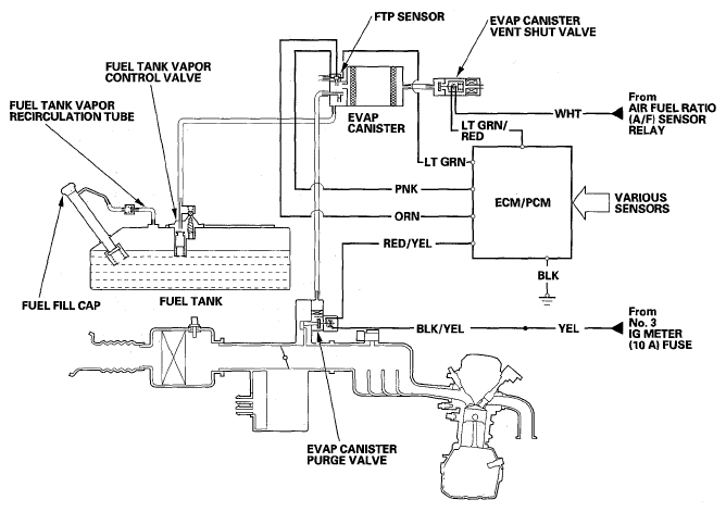
Evaporative Emission (EVAP) Control Diagram: Notes

The EVAP controls minimize the amount of fuel vapor escaping to the atmosphere. Vapor from the fuel tank is temporarily stored in the EVAP canister until it can be purged from the canister into the engine and burned.

Fig 1: Evaporative Emission (EVAP) Control Diagram
G05454467Courtesy of AMERICAN HONDA MOTOR CO., INC.