LEMON Manuals: Even more car manuals for everyone: 1960-2025
Home >> Honda >> 2007 >> Fit Base, Automatic >> Repair and Diagnosis >> External Pages >> Different car >> Section 54 (Engine Control System (1GR-FE)) >> SFI System >> DTC P0115 Engine Coolant Temperature Circuit; DTC P0117 Engine Coolant Temperature Circuit Low Input; DTC P0118 Engine Coolant Temperature Circuit High Input >> Inspection Procedure
April 5, 2026: LEMON Manuals is launched! Read the announcement.

Inspection Procedure

WARNING: This page is about a different car, the 2007 Toyota Tacoma. However, it is still accessible from the selected car via links, so may be relevant.

HINT:

  1. READ VALUE OF INTELLIGENT TESTER (ENGINE COOLANT TEMPERATURE) 
    1. Connect an intelligent tester to the DLC3.
    2. Turn the ignition switch ON.
    3. Turn the tester ON.
    4. Select the following menu items: DIAGNOSIS / ENHANCED OBD II / DATA LIST / PRIMARY / COOLANT TEMP.
    5. Read the value displayed on the tester.

      Standard: 

      Between 80°C and 97°C (176°F and 207°F) with warm engine. 

      Result 

      RESULT REFERENCE

      Temperature Displayed Proceed To
      -40°C (-40°F) A
      140°C (284°F) or higher B
      Between 80°C and 97°C (176°F and 207°F) C

      HINT:

      • If there is an open circuit, the intelligent tester indicates -40°C (-40°F).
      • If there is a short circuit, the intelligent tester indicates 140°C(284°F) or higher.

    B:  Go to step  4

    C : CHECK FOR INTERMITTENT PROBLEMS 

    A: Go to Next Step 

  2. READ VALUE OF INTELLIGENT TESTER (CHECK FOR OPEN IN WIRE HARNESS) 
    1. Disconnect the E2 Engine Coolant Temperature (ECT) sensor connector.
    2. Connect terminals 1 and 2 of the ECT sensor connector on the wire harness side.
    3. Connect an intelligent tester to the DLC3.
    4. Turn the ignition switch ON.
    5. Turn the tester ON.
    6. Select the following menu items: DIAGNOSIS / ENHANCED OBD II / DATA LIST / PRIMARY / COOLANT TEMP.
    7. Read the value displayed on the tester.

      Standard: 

      140°C (284°F) or higher 

    8. Reconnect the ECT sensor connector.
    9. Fig 1: ECT Sensor Circuit
      G05197767Courtesy of © TOYOTA, LICENSE AGREEMENT TMS1002

    OK : CONFIRM GOOD CONNECTION TO SENSOR. IF OK, REPLACE ENGINE COOLANT TEMPERATURE SENSOR 

    NG: Go to Next Step 

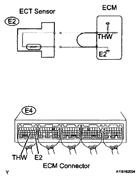
  3. READ VALUE OF INTELLIGENT TESTER (CHECK FOR OPEN IN ECM) 
    1. Disconnect the E2 ECT sensor connector.
    2. Connect terminals THW and E2 of the E4 ECM connector.

      HINT:

      Before checking, do visual and contact pressure checks on the ECM connector.

    3. Connect an intelligent tester to the DLC3.
    4. Turn the ignition switch ON.
    5. Turn the tester ON.
    6. Select the following menu items: DIAGNOSIS / ENHANCED OBD II / DATA LIST / PRIMARY / COOLANT TEMP.
    7. Read the value displayed on the tester.

      Standard: 

      140°C (284°F) or higher 

    8. Reconnect the ECT sensor connector.
    9. Fig 2: ECT Sensor Circuit
      G05197768Courtesy of © TOYOTA, LICENSE AGREEMENT TMS1002

    OK : REPAIR OR REPLACE HARNESS OR CONNECTOR 

    NG: CONFIRM GOOD CONNECTION TO ECM. IF OK, REPLACE ECM 

  4. READ VALUE OF INTELLIGENT TESTER (CHECK FOR SHORT IN WIRE HARNESS) 
    1. Disconnect the E2 ECT sensor connector.
    2. Connect an intelligent tester to the DLC3.
    3. Turn the ignition switch ON.
    4. Turn the tester ON.
    5. Select the following menu items: DIAGNOSIS / ENHANCED OBD II / DATA LIST / PRIMARY / COOLANT TEMP.
    6. Read the value displayed on the tester.

      Standard: 

      -40°C (-40°F) 

    7. Reconnect the ECT sensor connector.
      Fig 3: ECT Sensor Circuit
      G05197769Courtesy of © TOYOTA, LICENSE AGREEMENT TMS1002

    OK : REPLACE ENGINE COOLANT TEMPERATURE SENSOR 

    NG: Go to Next Step 

  5. READ VALUE OF INTELLIGENT TESTER (CHECK FOR SHORT IN ECM) 
    1. Disconnect the E4 ECM connector.
    2. Connect an intelligent tester to the DLC3.
    3. Turn the ignition switch ON.
    4. Turn the tester ON.
    5. Select the following menu items: DIAGNOSIS / ENHANCED OBD II / DATA LIST / PRIMARY / COOLANT TEMP.
    6. Read the value displayed on the tester.

      Standard: 

      -40°C (-40°F) 

    7. Reconnect the ECM connector.
    8. Fig 4: Disconnecting E4 ECM Connector
      G05197770Courtesy of © TOYOTA, LICENSE AGREEMENT TMS1002

    OK : REPAIR OR REPLACE HARNESS OR CONNECTOR 

    NG: REPLACE ECM