LEMON Manuals: Even more car manuals for everyone: 1960-2025
Home >> Honda >> 2007 >> Fit Base, Standard >> Repair and Diagnosis >> Body & Frame >> Windows >> Glass >> Front Corner Glass Replacement
April 5, 2026: LEMON Manuals is launched! Read the announcement.

Front Corner Glass Replacement

NOTE:
  • Put on gloves to protect your hands.
  • Use seat covers to avoid damaging any surface.
  1. Remove the A-pillar trim (see A-PILLAR TRIM ) .
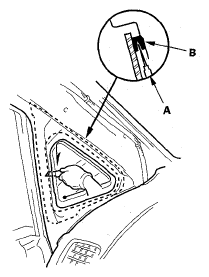
  2. From inside the vehicle, use a knife (A) to cut through the front corner glass adhesive (B) all the way around. Apply protective tape along the edge of the entire front corner glass opening flange.
    Fig 1: Cutting Front Corner Glass Adhesive Using Knife
    G05456171Courtesy of AMERICAN HONDA MOTOR CO., INC.
  3. From outside the vehicle, pry the front corner glass clips (A, B) and the front corner trim clips (C), then carefully remove the glass (D) and trim (E) together. The trim is not glued to the glass.
    Fig 2: Identifying Front Corner Glass And Trim Clips
    G05456172Courtesy of AMERICAN HONDA MOTOR CO., INC.
  4. With a putty knife, scrape the old adhesive smooth to a thickness of about 2 mm (0.08 in.) on the bonding surface around the entire front corner glass opening flange:
    • Do not scrape down to the painted surface of the body; damaged paint will interfere with proper bonding.
    • If any of the clips are broken, remove them from the body.
  5. Clean the body bonding surface with a sponge dampened in alcohol. After cleaning, keep oil, grease and water from getting on the surface.
  6. If the old front corner glass is to be reinstalled, use a putty knife to scrape off all of old adhesive from the front corner glass. Clean the inside face of the front corner glass and the edge of the glass with alcohol where new adhesive is to be applied. Make sure the bonding surface is kept free of water, oil and grease.
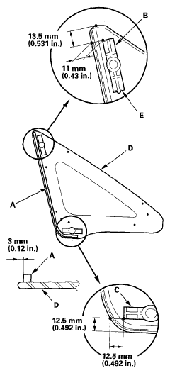
  7. Attach the rubber dam (A), upper clip (B), and lower clip (C) with adhesive tape to the inside face of the front corner glass (D) as shown:
    • Be careful not to touch the front corner glass where adhesive will be applied.
    • The left front corner glass is shown, and the right front corner glass is symmetrical except the upper clip. It is glued on the right front corner glass with its convex portion (E) upward.

    Rubber dam adhesive tape: 

    • Thickness 0.16 mm (0.006 in.) 
    • Width 3 mm (0.12 in.) 

    Clips adhesive tape: 

    • Thickness 1.3 mm (0.05 in.) 
    • Width 11 mm (0.43 in.) 
    Fig 3: Identifying Front Corner Glass Adhesive Tape Dimensions
    G05456173Courtesy of AMERICAN HONDA MOTOR CO., INC.
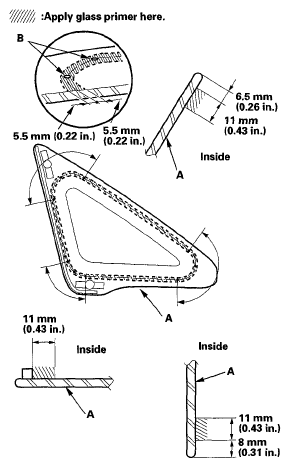
  8. With a sponge, apply a light coat of glass primer to the inside face of the front corner glass (A) as shown, then lightly wipe it off with gauze or cheesecloth:
    • With the printed dots (B) on the front corner glass as a guide, apply the glass primer to each corner of the glass.
    • Do not apply body primer to the front corner glass, and do not get body and glass primer sponges mixed up.
    • Never touch the primed surfaces with your hands. If you do the adhesive may not bond to the front corner glass properly, causing a leak after the front corner glass is installed.
    • Keep water, dust, and abrasive materials away from the primed surface.
    • Fig 4: Applying Light Coat Of Glass Primer To Inside Face Of Front Corner Glass
      G05456174Courtesy of AMERICAN HONDA MOTOR CO., INC.
  9. With a sponge, apply a light coat of body primer to the original adhesive remaining around the front corner glass opening flange. Let the body primer dry for at least 10 minutes:
    • Do not apply body primer to any remaining original adhesive on the flange.
    • Be careful not to mix up the body and glass primer sponges.
    • Never touch the primed surfaces with your hands.
    • Mask off the dashboard before painting the flange.
    • Fig 5: Identifying Glass Primer Area On Front Corner Glass
      G05456175Courtesy of AMERICAN HONDA MOTOR CO., INC.
  10. Cut a "V" in the end of the nozzle (A) on the adhesive cartridge as shown.
    Fig 6: Cutting "V" At End Of Adhesive Cartridge Nozzle
    G05456176Courtesy of AMERICAN HONDA MOTOR CO., INC.
  11. Put the cartridge in a caulking gun, and run a bead of adhesive (A) around the front corner glass (B) as shown:
    • With the printed dots (C) on the front corner glass as a guide, apply the adhesive to both side portions of the front corner glass.
    • Apply the adhesive within 30 minutes after applying the glass primer. Make a slightly thicker bead at each corner.
    • Fig 7: Identifying Bead Of Adhesive Around Front Corner Glass
      G05456177Courtesy of AMERICAN HONDA MOTOR CO., INC.
  12. Set the front corner glass (A) to the front comer trim (B) quickly. Be careful not to touch the front corner glass where adhesive will be spread.
    Fig 8: Setting Front Corner Glass To Front Comer Trim
    G05456178Courtesy of AMERICAN HONDA MOTOR CO., INC.
  13. Use a suction cup to hold the front corner glass (A) over the opening while holding the front corner trim (B) with the other hand, align the clips, and set it down on the adhesive. Lightly push on the front corner glass until its edges are fully seated on the adhesive all the way around.
    NOTE: Do not open or close any of the doors for about an hour until the adhesive is dry.
    Fig 9: Holding Front Corner Glass Using Suction Cup
    G05456179Courtesy of AMERICAN HONDA MOTOR CO., INC.
  14. Scrape or wipe the excess adhesive off with a putty knife or towel. To remove adhesive from a painted surface or the front corner glass, wipe with a soft shop towel dampened with alcohol.
  15. After the adhesive has dried, spray water over the front corner glass and check for leaks. Mark the leaking areas and let the front corner glass dry, then seal with sealant. Let the vehicle stand for at least 4 hours after front corner glass installation. If the vehicle has to be used within the first 4 hours, it must be driven slowly.
  16. Reinstall all remaining removed parts.
    NOTE: Advise the customer not to do the following things for 2 to 3 days:
    • Slam the doors with all the windows rolled up.
    • Twist the body excessively (such as when going in and out of driveways at an angle or driving over rough, uneven roads).