LEMON Manuals: Even more car manuals for everyone: 1960-2025
Home >> Honda >> 2007 >> Fit Base, Standard >> Repair and Diagnosis >> Body & Frame >> Windows >> Glass >> Rear Window Replacement
April 5, 2026: LEMON Manuals is launched! Read the announcement.

Rear Window Replacement

NOTE:
  • Put on gloves to protect your hands.
  • Wear eye protection while cutting the glass adhesive with a piano wire.
  • Use seat covers to avoid damaging any surfaces.
  • Do not damage the rear window defogger grid lines and terminals.
  1. Remove these items:
  2. Remove the lower rubber dam (A) from the edge of the rear window. If necessary, cut the rubber dam with a utility knife.
    Fig 1: Identifying Lower Rubber Dam
    G05456180Courtesy of AMERICAN HONDA MOTOR CO., INC.
  3. Disconnect the rear window defogger connectors (A).
    Fig 2: Identifying Rear Window Defogger Connectors
    G05456181Courtesy of AMERICAN HONDA MOTOR CO., INC.
  4. If the old rear window is to be reinstalled, make alignment marks across the glass and body with a grease pencil.
  5. Apply protective tape along the inside and outside edges of the tailgate. Using an awl, make a hole through the adhesive from inside the vehicle at the corner portion of the rear window. Push the piano wire through the hole, and wrap each end around a piece of wood.
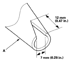
  6. With a helper on the outside, pull the piano wire (A) back and forth in a sawing motion. Hold the piano wire as close to the rear window (B) as possible to prevent damage to the tailgate, and carefully cut through the adhesive (C) around the entire rear window.
    Fig 3: Cutting Adhesive Around Entire Rear Window
    G05456182Courtesy of AMERICAN HONDA MOTOR CO., INC.

    Cutting positions 

    Fig 4: Identifying Rear Window Cutting Positions
    G05456183Courtesy of AMERICAN HONDA MOTOR CO., INC.
  7. Carefully remove the rear window.
  8. With a putty knife, scrape the old adhesive smooth to a thickness of about 2 mm (0.08 in.) on the bonding surface around the entire rear window opening flange:
    • Do not scrape down to the painted surface of the body; damaged paint will interfere with proper bonding
    • Remove the fasteners from the tailgate.
  9. Clean the tailgate bonding surface with a sponge dampened in alcohol. After cleaning, keep oil, grease and water from getting on the surface.
  10. If the old rear window is to be reinstalled, use a putty knife to scrape off all of the old adhesive, the fasteners and the rubber dams from the rear window. Clean the inside face and the edge of the rear window with alcohol where new adhesive is to be applied. Make sure the bonding surface is kept free of water, oil and grease.
  11. Attach the fasteners (A), upper rubber dam (B), and seals (C) with adhesive tape (with tailgate spoiler) to the inside face of the rear window (D) as shown. Attach the lower rubber dam (E) with adhesive tape along the edge of the rear window. Before installing the upper and lower rubber dams, apply primer to the inside face of the rear window.
    • Be sure the fasteners and upper rubber dam line up with alignment marks (F).
    • Be careful not to touch the rear window where adhesive will be applied.

    Fasteners adhesive tape: 

    • Thickness 0.6 mm (0.024 in.) 
    • Width 7.5 mm (0.30 in.) 

    Upper rubber dam adhesive tape: 

    • Thickness 0.16 mm (0.006 in.) 
    • Width 3 mm (0.12 in.) 

    Seals adhesive tape: 

    • Thickness 0.16 mm (0.006 in.) 
    • Width 15 mm (0.59 in.) 

    Lower rubber dam adhesive tape: 

    • Thickness 0.2 mm (0.009 in.) 
    • Width 4 mm (0.16 in.) 
    Fig 5: Applying Glass Primer To Inside Face Of Rear Window
    G05456184Courtesy of AMERICAN HONDA MOTOR CO., INC.
  12. Cut the excess lower rubber dam along both beveled edges of the rear window.
  13. Glue the fasteners (A, B) with adhesive tape to the tailgate as shown.

    Fasteners adhesive tape: 

    Thickness 0.6 mm (0.024 in.) 

    Width 7.5 mm (0.30 in.) 

    Fig 6: Applying Adhesive Tape To Tailgate
    G05456185Courtesy of AMERICAN HONDA MOTOR CO., INC.
  14. Set the rear window (A) in the opening, and center it. Make alignment marks (B) across the rear window and body with a grease pencil at the four points shown. Be careful no to touch the rear window where adhesive will be applied.
    Fig 7: Identifying Alignment Marks Across Rear Window And Body
    G05456186Courtesy of AMERICAN HONDA MOTOR CO., INC.
  15. Remove the rear window.
  16. With a sponge, apply a light coat of glass primer around the edge of the rear window (A) and along the rubber dams (B) as shown, then lightly wipe it off with gauze or cheesecloth:
    • With the printed dots (C) on the rear window as a guide, apply the glass primer to both side portions of the rear window.
    • Do not apply body primer to the rear window, and do not get tailgate and glass primer sponges mixed up.
    • Never touch the primed surfaces with your hands. If you do, the adhesive may not bond to the rear window properly, causing a leak after the rear window is installed.
    • Keep water, dust, and abrasive materials away from the primed surface.
    • Fig 8: Applying Glass Primer Around Edge Of Rear Window And Rubber Dams
      G05456187Courtesy of AMERICAN HONDA MOTOR CO., INC.
  17. With a sponge, apply a light coat of body primer to the original adhesive remaining around the rear window opening flange. Let the body primer dry for at least 10 minutes:
    • Do not apply body primer to any remaining original adhesive on the flange.
    • Be careful not to mix up the body and glass primer sponges.
    • Never touch the primed surfaces with your hands.
    • Fig 9: Identifying Body Primer Area On Rear Window
      G05456188Courtesy of AMERICAN HONDA MOTOR CO., INC.
  18. Cut a "V" in the end of the nozzle (A) on the adhesive cartridge as shown.
    Fig 10: Cutting "V" At End Of Adhesive Cartridge Nozzle
    G05456189Courtesy of AMERICAN HONDA MOTOR CO., INC.
  19. Pack adhesive into the cartridge without air pockets to ensure continuous delivery. Put the cartridge in a caulking gun, and run a bead of adhesive (A) on the glass primer trace (B) around the edge of the rear window (C) and along the rubber dams (D) as shown.

    Apply the adhesive within 30 minutes after applying the glass primer. Make a slightly thicker bead at each corner.

    Fig 11: Identifying Bead Of Adhesive On Glass Primer Trace Around Edge Of Rear Window
    G05456190Courtesy of AMERICAN HONDA MOTOR CO., INC.
  20. Use suction cups to hold the rear window over the opening, align it with the alignment marks you made in step  14, and set it down on the adhesive. Lightly push on the rear window until its edges are fully seated on the adhesive all the way around.
    NOTE: Do not open or close any of the doors for about an hour until the adhesive is dry.
  21. Scrape or wipe the excess adhesive off with a putty knife or towel. To remove adhesive from a painted surface or the rear window, use a soft shop towel dampened with alcohol.
  22. After the adhesive has dried, spray water over the rear window and check for leaks. Mark the leaking areas, let the rear window dry, then seal with sealant. Let the vehicle stand for at least 4 hours after rear window installation. If the vehicle has to be used within the first 4 hours, it must be driven slowly.
  23. Reinstall all remaining removed parts.
    NOTE: Advise the customer not to do the following things for 2 to 3 days:
    • Slam the doors with all the windows rolled up.
    • Twist the body excessively (such as when going in and out of driveways at an angle or driving over rough, uneven roads).