LEMON Manuals: Even more car manuals for everyone: 1960-2025
Home >> Honda >> 2007 >> Fit Base, Standard >> Repair and Diagnosis >> Electrical >> Body Electrical >> Fuse/Relay Boxes >> Connector to Fuse/Relay Box Index >> Under-hood Fuse/Relay Box
April 5, 2026: LEMON Manuals is launched! Read the announcement.

Under-hood Fuse/Relay Box

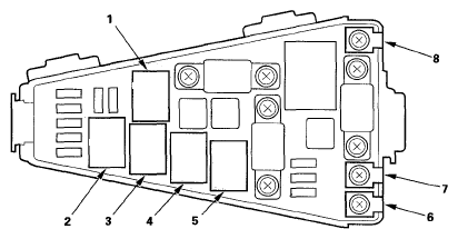
CONNECTOR TO FUSE/RELAY BOX INDEX - UNDER-HOOD FUSE/RELAY BOX

Socket Ref Terminal Connects to
A/C compressor clutch relay 2 4 Engine compartment wire harness
A/C condenser fan relay 3 4 Engine compartment wire harness
Headlight relay 1 4 Engine compartment wire harness
Horn relay 4 4 Engine compartment wire harness
Radiator fan relay 5 4 Engine compartment wire harness
T104 7   Engine compartment wire harness
T101 8   Engine wire harness
T102 6   EPS wire harness
Fig 1: Identifying Under-Hood Fuse/Relay Box
G05456570Courtesy of AMERICAN HONDA MOTOR CO., INC.