LEMON Manuals: Even more car manuals for everyone: 1960-2025
Home >> Honda >> 2007 >> Fit Base, Standard >> Repair and Diagnosis >> Electrical >> Charging Systems >> Charging System >> Alternator Overhaul >> Overhaul
April 5, 2026: LEMON Manuals is launched! Read the announcement.

Alternator Overhaul: Overhaul

NOTE: Refer to Figure as needed during this procedure.
  1. Test the alternator and the regulator before you remove them (see ALTERNATOR AND REGULATOR CIRCUIT TROUBLESHOOTING ).
  2. Remove the alternator (see ALTERNATOR REMOVAL AND INSTALLATION ).
  3. Remove the four through bolts.
    Fig 1: Identifying Alternator Through Bolts
    G05454065Courtesy of AMERICAN HONDA MOTOR CO., INC.
  4. Heat the rear bearing seat with a 1,000 Wheat gun for about 5 minutes (129-140°F, 50-60°C).
    Fig 2: Heating Rear Bearing Seat With Wheat Gun
    G05454066Courtesy of AMERICAN HONDA MOTOR CO., INC.
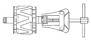
  5. Separate the rear housing from the drive-end housing by inserting a flat tip screwdriver into the openings and prying them apart.
    NOTE: Be careful not to damage the stator with the tip of the screwdriver.
    Fig 3: Separating Rear Housing From Drive-End Housing By Inserting Flat Tip Screwdriver
    G05454067Courtesy of AMERICAN HONDA MOTOR CO., INC.
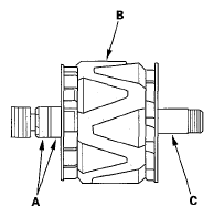
  6. Separate the rear housing (A) and the drive-end housing (B) with the stator (C) attached to the rear housing.
    Fig 4: Identifying Rear Housing, Drive-End Housing And Stator
    G05454068Courtesy of AMERICAN HONDA MOTOR CO., INC.
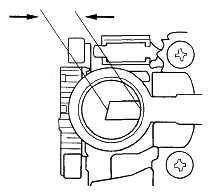
  7. If you are not replacing the front bearing and/or rear bearing, Go to step  15. Clamp the rotor in a soft-jawed vise, then remove the pulley locknut.
    Fig 5: Removing Pulley Locknut
    G05454069Courtesy of AMERICAN HONDA MOTOR CO., INC.
  8. Remove the rotor using a puller as shown.
    Fig 6: Removing Rotor Using Puller
    G05454070Courtesy of AMERICAN HONDA MOTOR CO., INC.
  9. Inspect the rotor shaft for scoring, and inspect the bearing journal surface in the drive-end housing for seizure marks.
    • If either the rotor or drive-end housing is damaged, replace the alternator.
    • If both the rotor and the drive-end housing are OK, Go to step  10.
  10. Remove the rear bearing using the puller as shown.
    Fig 7: Identifying Rear Bearing
    G05454071Courtesy of AMERICAN HONDA MOTOR CO., INC.
  11. Use a hand press to install the new rear bearing. Apply pressure only on the inner race to avoid damaging the bearing.
    Fig 8: Installing New Rear Bearing
    G05454072Courtesy of AMERICAN HONDA MOTOR CO., INC.
  12. Remove the front bearing retainer plate.
    Fig 9: Identifying Front Bearing Retainer Plate
    G05454073Courtesy of AMERICAN HONDA MOTOR CO., INC.
  13. Support the drive-end housing in a vise, and drive out the front bearing with a brass drift (A) and a hammer.
    Fig 10: Driving Out Front Bearing With Brass Drift And Hammer
    G05454074Courtesy of AMERICAN HONDA MOTOR CO., INC.
  14. Install a new front bearing in the drive-end housing with a hammer, the handle driver, and attachment.
    Fig 11: Installing Front Bearing In Drive-End Housing With Hammer
    G05454075Courtesy of AMERICAN HONDA MOTOR CO., INC.

    Alternator Brush Inspection 

  15. Measure the length of both brushes with a vernier caliper.
    • If either brush is shorter than the service limit, replace the rear housing assembly.
    • If brush length is OK, Go to step  16.

    Alternator Brush Length 

    Standard (New): 19.0 mm (0.75 in.) 

    Service Limit: 5.0 mm (0.20 in.) 

    Fig 12: Measuring Length Of Both Brushes With Vernier Caliper
    G05454076Courtesy of AMERICAN HONDA MOTOR CO., INC.

    Rotor Slip Ring Test 

  16. Check for continuity between the slip rings (A).
    • If there is continuity, Go to step  17.
    • If there is no continuity, replace the rotor assembly.
    Fig 13: Identifying Slip Rings, Rotor And Rotor Shaft
    G05454077Courtesy of AMERICAN HONDA MOTOR CO., INC.
  17. Check that there is no continuity between each slip ring (A) and the rotor (B) and the rotor shaft (C).
    • If there is no continuity, replace the rear housing assembly, Go to step  18.
    • If there is continuity, replace the rotor assembly.

    Alternator Reassembly 

  18. If you removed the pulley, put the rotor in the drive-end housing, then tighten its locknut to 110 N.m (11.2 kgf.m, 81 lbf.ft).
  19. Remove any grease or any oil from the slip rings.
  20. Push the brushes (A) in, then insert a pin or drill bit (B) (about 1.8 mm (0.77 in.) diameter) to hold them in place.
    Fig 14: Identifying Pin And Drill Bit
    G05454078Courtesy of AMERICAN HONDA MOTOR CO., INC.
  21. Heat the rear bearing seat with a 1,000 Wheat gun for about 5 minutes (129-140°F, 50-60°C).
  22. Put the rear housing assembly (A) and drive-end housing/rotor assembly (B) together, tighten the four through bolts (C) and pull out the pin (D).
    Fig 15: Identifying Rear Housing Assembly, Drive-End Housing/Rotor Assembly, Through Bolts And Pin
    G05454079Courtesy of AMERICAN HONDA MOTOR CO., INC.
  23. After assembling the alternator, turn the pulley by hand to make sure the rotor rotates smoothly and without noise.
  24. Install the alternator, and adjust its belt tension (see INSTALLATION ).