LEMON Manuals: Even more car manuals for everyone: 1960-2025
Home >> Honda >> 2007 >> Fit Base, Standard >> Repair and Diagnosis >> Engine Performance >> System >> Fuel And Emissions Systems >> System Description >> Vacuum Distribution
April 5, 2026: LEMON Manuals is launched! Read the announcement.

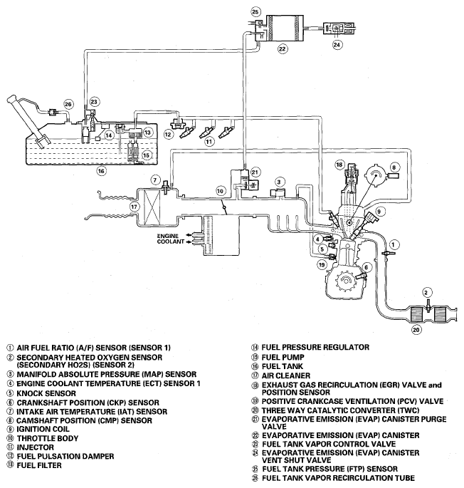
Vacuum Distribution

Fig 1: Vacuum Distribution Diagram
G05454438Courtesy of AMERICAN HONDA MOTOR CO., INC.