LEMON Manuals: Even more car manuals for everyone: 1960-2025
Home >> Honda >> 2007 >> Fit Base, Standard >> Repair and Diagnosis >> External Pages >> Different variant/trim >> Section 1 (Automatic Transmission) >> A/T Gear Position Indicator >> Transmission Range Switch Replacement
April 5, 2026: LEMON Manuals is launched! Read the announcement.

Transmission Range Switch Replacement

WARNING: This page is about a different variant/trim than selected.
  1. Raise the vehicle on a lift, or apply the parking brake, block the rear wheels, and raise the front of the vehicle. Make sure it is securely supported.
  2. Shift to N.
  3. Remove the transmission range switch cover.
    Fig 1: Identifying Transmission Range Switch Cover With Bolts
    G05455415
  4. Remove the transmission range switch.
    Fig 2: Identifying Transmission Range Switch With Bolt
    G05455416
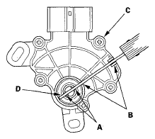
  5. Make sure the shift lever is in N.
  6. Align the cutouts (A) on the rotary-frame with the neutral positioning cutouts (B) on the transmission range switch (C), then put a 2.0 mm (0.08 in.) feeler gauge blade (D) in the cutouts to hold the switch in the N position.
    NOTE: Be sure to use a 2.0 mm (0.08 in.) blade or equivalent to hold the switch in the N position.
    Fig 3: Aligning Cutouts On Rotary-Frame With Neutral Positioning Cutouts) On Transmission Range Switch
    G05455417
  7. Install the transmission range switch (A) gently on the selector control shaft (B) while holding it in the N position with the 2.0 mm (0.08 in.) blade (C).
    Fig 4: Identifying Transmission Range Switch, Selector Control Shaft And Blade
    G05455418
  8. Tighten the bolts on the transmission range switch while you continue to hold the N position. Do not move the transmission range switch when tightening the bolts. Remove the feeler gauge.
    Fig 5: Transmission Range Switch Mounting Bolts With Torque Specification
    G05455419
  9. Check the connectors for rust, dirt, or oil, clean or repair if necessary, then connect the connector securely.
  10. Turn the ignition switch to ON (II). Move the shift lever through all positions, and check the transmission range switch synchronization with the A/T gear position indicator.
  11. Check that the engine starts in P and N, and does not start in any other shift lever position.
  12. Check that the back-up lights come on when the shift lever is in R.
  13. Allow the front wheels to rotate freely, then start the engine, and check the shift lever operation.
  14. Install the transmission range switch cover.
    Fig 6: Transmission Range Switch Cover With Mounting Bolts With Torque Specification
    G05455420