LEMON Manuals: Even more car manuals for everyone: 1960-2025
Home >> Honda >> 2007 >> Fit Base, Standard >> Repair and Diagnosis >> Restraints >> Restraints Control Systems >> Seat Belts >> Inspection >> Retractor
April 5, 2026: LEMON Manuals is launched! Read the announcement.

Seat Belts: Inspection: Retractor

  1. Before installing the retractor, check that the seat belt can be pulled out freely.
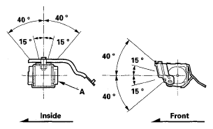
  2. Make sure that the seat belt does not lock when the retractor (A) is leaned slowly up to 15° from the mounted position. The seat belt should lock when the retractor is leaned over 40 °. Do not attempt to disassemble the retractor.

    Front 

    Fig 1: Inspecting Retractor Position (Front)
    G05456836Courtesy of AMERICAN HONDA MOTOR CO., INC.

    Rear 

    Fig 2: Inspecting Retractor Position (Rear)
    G05456837Courtesy of AMERICAN HONDA MOTOR CO., INC.

    Rear center 

    Fig 3: Inspecting Retractor Position (Rear Center)
    G05456838Courtesy of AMERICAN HONDA MOTOR CO., INC.
  3. Replace the seat belt with a new assembly if there is any abnormality. Do not disassemble any part of the seat belt for any reason.