LEMON Manuals: Even more car manuals for everyone: 1960-2025
Home >> Honda >> 2007 >> Fit L4-1.5L >> Repair and Diagnosis >> Heating and Air Conditioning >> Control Assembly >> Service and Repair >> Heater-A/C Control Panel Disassembly and Reassembly
April 5, 2026: LEMON Manuals is launched! Read the announcement.

Heater-A/C Control Panel Disassembly and Reassembly

Heater-A/C Control Panel Disassembly and Reassembly

1. Remove the heater-A/C control panel.




2. Remove the heater fan switch (A), the air mix control cable (B), the mode control cable (C), and the recirculation control cable (D).




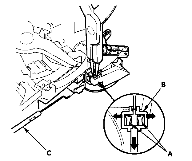
3. Widen the cable stops (A) in the cable holder (B) using a snap ring pliers, then pull out the control cable (C).
4. Hook the tip of the new control cable to the lever or slider, then push the cable housing into the cable holder until it locks into place.
5. After assembly, check that the lever slides or the dial turns smoothly through the full stroke from right to left.