LEMON Manuals: Even more car manuals for everyone: 1960-2025
Home >> Honda >> 2007 >> Fit L4-1.5L >> Repair and Diagnosis >> Powertrain Management >> Transmission Control Systems >> Testing and Inspection >> Component Tests and General Diagnostics >> Pressure Test
April 5, 2026: LEMON Manuals is launched! Read the announcement.

Pressure Test

Pressure Test

Special Tools Required
^ A/T oil pressure gauge set 07406-0020400 or 07406-0020401
^ A/T pressure hose, 2,210 mm 07MAJ-PY4011A
^ A/T pressure hose adapter 07MAJ-PY40120

NOTE:
^ Information marked with an asterisk (*) applies to the 7-position transmission.
^ Information marked with a double asterisk (**) applies to the 5-position transmission.

1. Make sure the transmission fluid is filled to the proper level.
2. Lift the vehicle up on a hoist or apply the parking brake, block rear wheels, and raise the front of the vehicle. Make sure it is securely supported.
3. Remove the splash shield.
4. Allow the front wheels to rotate freely.
5. Connect the oil pressure gauge to the line pressure inspection port (A). Do not allow dust or other foreign particles to enter the ports while connecting the gauges.





6. Start the engine, and warm it up to normal operating temperature (the radiator fan comes on).
7. Turn off the engine, and connect the HDS to the DLC (A).

NOTE: If the HDS does not communicate with the PCM, troubleshoot the DLC circuit.





8. Measure the line pressure at the line pressure inspection port (A) in the P or N position while holding the engine speed at 2,000 rpm.

NOTE: Higher pressure may be indicated if measurements are made in shift lever position other than P or N.





9. Turn off the engine, then disconnect the oil pressure gauge from the line pressure inspection port.
10. Install the sealing bolt to the line pressure inspection port with a new sealing washer, and tighten the bolt to 18 Nm (1.8 kgf-m, 13 lbf-ft). Do not reuse the old sealing washer.
11. Remove the air cleaner assembly.
12. Connect the oil pressure gauge to the 1st clutch pressure inspection port (B). Then temporarily install the air cleaner.





13. Connect the oil pressure gauge to the 2nd clutch pressure inspection port (C).





14. Start the engine, and shift to the 1 position* (1st gear in the S position**).
15. Measure the 1st clutch pressure at the 1st clutch pressure inspection port (B) while holding the engine speed at 2,000 rpm.
16. Shift to the 2 position* (2nd gear in the S position**), and measure the 2nd clutch pressure at the 2nd clutch pressure inspection port (C) while holding the engine speed at 2,000 rpm.





17. Turn off the engine, remove the air cleaner, then disconnect the oil pressure gauges from the 1st clutch pressure and 2nd clutch pressure inspection ports.
18. Install the sealing bolts to the 1st clutch pressure and 2nd clutch pressure inspection ports with new sealing washers, and tighten the bolts to 18 Nm (1.8 kgf-m, 13 lbf-ft). Do not reuse old sealing washers.
19. Install the air cleaner assembly.
20. Connect the oil pressure gauge to the 3rd clutch pressure inspection port (D) and the 4th clutch pressure inspection port (E).





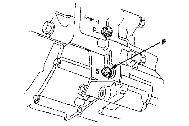
21. Connect the oil pressure gauge to the 5th clutch pressure inspection port (F).





22. Cancel the transmission 2nd-hold control mode with the HDS; choose Pressure Test Assistance Mode in the Miscellaneous Test Menu of the A/T Mode Menu.
23. Start the engine, and shift to the D3* (S**) position.
24. Measure the 3rd clutch pressure at the 3rd clutch pressure inspection port (D) while holding the engine speed at 2,000 rpm.
25. Shift to the D position, and measure the 4th clutch pressure at the 4th clutch pressure inspection port (E) and the 5th clutch pressure at the 5th clutch pressure inspection port (F) while holding the engine speed at 2,000 rpm.





26. Bring the engine back to an idle, then apply the brake to stop the wheels from rotating.
27. Shift to the R position, then release the brake pedal. Raise the engine speed to 2,000 rpm, and measure the 5th clutch pressure at the 5th clutch pressure inspection port (F).





28. Turn off the engine, then disconnect the oil pressure gauges from the 3rd, 4th, and 5th clutch pressure inspection ports.
29. Install the sealing bolts in the 3rd, 4th, and 5th clutch pressure inspection ports with new sealing washers, and tighten the bolts to 18 Nm (1.8 kgf-m, 13 lbf-ft). Do not reuse the old sealing washers.
30. If the measurements are out of the service limit, problems and probable causes are listed in the table.





31. Install the splash shield.