LEMON Manuals: Even more car manuals for everyone: 1960-2025
Home >> Honda >> 2007 >> Odyssey EX-L >> Repair and Diagnosis >> Accessories & Equipment >> Communication Devices >> Multiplex Integrated Control System >> MICU Input Test
April 5, 2026: LEMON Manuals is launched! Read the announcement.

MICU Input Test

NOTE: Make sure the ignition switch is turned to LOCK (0) before troubleshooting the driver's under-dash fuse/relay box connectors.
  1. Remove the left side kick panel (see TRIM REMOVAL/INSTALLATION - DOOR AREAS ).
  2. Disconnect driver's under-dash fuse/relay box connectors D, E, F, G, H, J, K, P, W, N, and X.
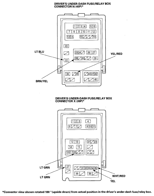
    NOTE: All connector views are shown from wire side of female terminals.
    Fig 1: Identifying Driver Under-Dash Fuse/Relay Box Connectors Terminals (1 Of 2)
    G05526543Courtesy of AMERICAN HONDA MOTOR CO., INC.
    Fig 2: Identifying Driver Under-Dash Fuse/Relay Box Connectors Terminals (2 Of 2)
    G05526544Courtesy of AMERICAN HONDA MOTOR CO., INC.
  3. Inspect the connector and socket terminals to be sure they are all making good contact.
    • If the terminals are bent, loose or corroded, repair them as necessary, and recheck the system.
    • If the terminals look OK, go to step 4.
  4. With the connectors still disconnected from the under-dash fuse/relay box, make these input tests at the connector(s).
    • If any test indicates a problem, find and correct the cause, then recheck the system.
    • If all the input tests prove OK, go to step 5.
    WIRE AND TEST CONDITION CHART

    Cavity Wire Test condition Test: Desired result Possible cause if desired result is not obtained
    E9

    H9
    BLK Under all conditions Check for continuity to ground:
    There should be continuity.
    • Poor ground (G601)
    • An open in the wire
    P14 BLK Under all conditions Check for continuity to ground:
    There should be continuity.
    • Poor ground (G401)
    • An open in the wire
    D11 BLU Relay control module connector K (10P) disconnected Check for continuity between the D11 terminal and the relay control module connector K OOP) No. 8 terminal:
    There should be continuity.
    An open in the wire
    Check for continuity to ground:
    There should be no continuity.
    A short to ground in the wire
    G1 GRN/RED MICU-rear junction box connector A (14P) disconnected Check for continuity between the G1 terminal and the MICU-rear junction box connector A (14P) No. 14 terminal:
    There should be continuity.
    An open in the wire
    Check for continuity to ground:
    There should be no continuity.
    A short to ground in the wire
    J4 GRN/RED Power window master switch (Door multiplex control unit) connector (23P) disconnected Check for continuity between the J4 terminal and the power window master switch connector (23P) No. 16 terminal:
    There should be continuity.
    An open in the wire
    Check for continuity to ground:
    There should be no continuity.
    A short to ground in the wire
    N22 LT BLU A/C control panel (22P) or front climate control unit connector (30P) disconnected Check for continuity between the N22 terminal and the A/C control panel connector A (22P) No. 10 terminal or front climate control unit connector (30P) No. 7 terminal:
    There should be continuity.
    An open in the wire
    Check for continuity to ground:
    There should be no continuity.
    A short to ground in the wire
    N22 LT BLU HandsFreeLink control unit (28P) disconnected Check for continuity between the N22 terminal and the HandsFreeLink control unit (28P) No. 18 terminal:
    There should be continuity.
    An open in the wire
    Check for continuity to ground:
    There should be no continuity.
    A short to ground in the wire
    N28 BRN/YEL Gauge control module connector A (30P) disconnected Check for continuity between the N28 terminal and the gauge control module connector A (30P) No. 25 terminal:
    There should be continuity.
    An open in the wire
    Check for continuity to ground:
    There should be no continuity.
    A short to ground in the wire
    X18 LT GRN Automatic lighting control unit connector (14P) disconnected Check for continuity between the X18 terminal and the automatic lighting control unit connector (14P) No. 4 terminal:
    There should be continuity.
    An open in the wire
    Check for continuity to ground:
    There should be no continuity.
    A short to ground in the wire
    X27 LT GRN Wiper/washer switch connector (8P) disconnected Check for continuity between the X27 terminal and the wiper/washer connector (8P) No. 4 terminal:
    There should be continuity.
    An open in the wire
    Check for continuity to ground:
    There should be no continuity.
    A short to ground in the wire
  5. Reconnect the connectors to the driver's under-dash fuse/relay box, and make sure these input tests at the appropriate connectors on the driver's under-dash fuse/relay box.
    • If any test indicates a problem, find and correct the cause, then recheck the system.
    • If all the input tests prove OK, the MICU must be faulty, replace the driver's under-dash fuse/relay box assembly.
    WIRE AND TEST CONDITION CHART

    Cavity Wire Test condition Test: Desired result Possible cause if desired result is not obtained
    E9

    H9
    BLK Under all conditions Measure the voltage to ground:
    There should be less than 0.5 V.
    • Poor ground (G601)
    • An open in the wire
    P14 BLK Under all conditions Measure the voltage to ground:
    There should be less than 0.5 V.
    • Poor ground (G401)
    • An open in the wire
    P8 WHT/BLK Under all conditions Attach to ground:
    The ignition key light should come on.
    • Blown No. 13 (20 A) fuse in the under-hood fuse/relay box
    • Faulty LED
    • An open in the wire
    W4 YEL Interior lights switch in the middle position, all doors closed Attach to ground:
    The individual map lights should come on.
    • Blown No. 6 (7.5 A) fuse in the driver's under-dash fuse/relay box
    • Faulty map light
    • An open in the wire
    N36 YEL/RED Ignition switch ACC (I) Measure the voltage to ground:
    There should be battery voltage.
    • Blown No. 32 (10 A) fuse in the driver's under-dash fuse/relay box
    • An open in the wire
    D6

    F1

    J9

    X34
    YEL Ignition switch ON (II) Measure the voltage to ground:
    There should be battery voltage.
    • Blown No. 21 (7.5 A) fuse in the driver's under-dash fuse/relay box
    • An open in the wire
    K5

    G3

    X35
    WHT/RED Under all conditions Measure the voltage to ground:
    There should be battery voltage.
    • Blown No. 7 (7.5 A) fuse in the driver's under-dash fuse/relay box
    • An open in the wire