LEMON Manuals: Even more car manuals for everyone: 1960-2025
Home >> Honda >> 2007 >> Odyssey EX-L >> Repair and Diagnosis >> External Pages >> Different car >> Section 65 (Driver Position Memory System (DPMS)) >> Driving Position Memory Switch Test/Replacement
April 5, 2026: LEMON Manuals is launched! Read the announcement.

Driving Position Memory Switch Test/Replacement

WARNING: This page is about a different car, the 2009 Acura MDX, 2008 Acura MDX, and 2007 Acura MDX. However, it is still accessible from the selected car via links, so may be relevant.
  1. Remove the driver's door panel (see FRONT DOOR PANEL REMOVAL/INSTALLATION ).
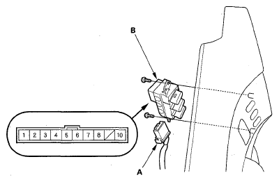
  2. Disconnect the 10P connector (A) from the driving position memory switch (B).
    Fig 1: Identifying 10P Connector And Driving Position Memory Switch
    G05488322Courtesy of AMERICAN HONDA MOTOR CO., INC.
  3. Remove the two screws, then remove the switch from the door panel.
  4. Check for continuity between the terminals in each switch position according to the table.
    Fig 2: Checking For Continuity Between Terminals In Each Switch Position
    G05488323Courtesy of AMERICAN HONDA MOTOR CO., INC.
  5. If the continuity is not as specified, replace the switch.