LEMON Manuals: Even more car manuals for everyone: 1960-2025
Home >> Honda >> 2007 >> Odyssey EX >> Repair and Diagnosis (Single Page) >> Electrical >> Body Electrical >> Fuse/Relay Boxes >> Connector to Fuse/Relay Box Index >> Driver's Under-dash Fuse/Relay Box
April 5, 2026: LEMON Manuals is launched! Read the announcement.

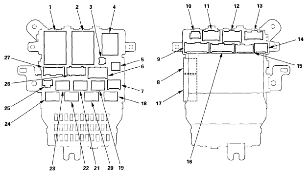
Driver's Under-dash Fuse/Relay Box

DRIVER UNDER-DASH FUSE/RELAY BOX REFERENCE

Socket Ref Terminal Connects to
A 6 6 Dashboard wire harness (see DASHBOARD WIRE HARNESS (LEFT BRANCH) )
B 12 6 Engine compartment wire harness (see ENGINE COMPARTMENT WIRE HARNESS (DASH BRANCH) )
C 11 12 Engine compartment wire harness (see ENGINE COMPARTMENT WIRE HARNESS (DASH BRANCH) )
D 13 17 Engine compartment wire harness (see ENGINE COMPARTMENT WIRE HARNESS (DASH BRANCH) )
Driver's accessory power socket relay 19 4  
E 16 16 Floor wire harness (see FLOOR WIRE HARNESS (LEFT FRONT BRANCH) )
F 9 14 Floor wire harness (see FLOOR WIRE HARNESS (LEFT FRONT BRANCH) )
G 14 6 Floor wire harness (see FLOOR WIRE HARNESS (LEFT FRONT BRANCH) )
H 15 14 Floor wife harness (see FLOOR WIRE HARNESS (LEFT FRONT BRANCH) )
Ignition coil relay 23 4  
J 27 21 Driver's door subharness (see DRIVER'S DOOR WIRE HARNESS A )
K 26 12 Driver's door subharness (see DRIVER'S DOOR WIRE HARNESS A )
M 25 3 MICU service connector
N 2 45 Dashboard wire harness (see DASHBOARD WIRE HARNESS (LEFT BRANCH) )
P (MICU) 17 30 Engine compartment wire harness (see ENGINE COMPARTMENT WIRE HARNESS (DASH BRANCH) )
PGM-FI main relay 1 (Fl MAIN) 21 4  
PGM-FI main relay 2 (FUEL PUMP) 24 4  
PGM-FI subrelay (LAF) 20 4  
Power window relay 22 4  
Q (MICU) 8 14 Floor wire harness (see FLOOR WIRE HARNESS (LEFT FRONT BRANCH) )
R (MES connector) 3 2 Dashboard wire harness (see DASHBOARD WIRE HARNESS (LEFT BRANCH) )
S 5 2 Dashboard wire harness (see DASHBOARD WIRE HARNESS (LEFT BRANCH) )
Starter cut relay 18 4  
T 7 6 Optional connector
Turn signal/hazard relay 4 6  
W 10 5 Roof wire harness (see ROOF WIRE HARNESS (WITH MOONROOF) )
X 1 39 Dashboard wire harness (see DASHBOARD WIRE HARNESS (LEFT BRANCH) )
Fig 1: Identifying Driver Under-Dash Fuse/Relay Box Terminals
G05526516Courtesy of AMERICAN HONDA MOTOR CO., INC.