LEMON Manuals: Even more car manuals for everyone: 1960-2025
Home >> Honda >> 2007 >> Odyssey EX >> Repair and Diagnosis (Single Page) >> Electrical >> Body Electrical >> Fuse/Relay Boxes >> Connector to Fuse/Relay Box Index >> MICU-Rear Junction Box
April 5, 2026: LEMON Manuals is launched! Read the announcement.

MICU-Rear Junction Box

MICU-REAR JUNCTION BOX REFERENCE

Socket Ref Terminal Connects to
A 8 14 Floor wire harness (see FLOOR WIRE HARNESS (RIGHT REAR BRANCH) )
B 9 7 Floor wire harness (see FLOOR WIRE HARNESS (RIGHT REAR BRANCH) )
C 7 6 Floor wire harness (see FLOOR WIRE HARNESS (RIGHT REAR BRANCH) )
D 6 17 Floor wire harness (see FLOOR WIRE HARNESS (RIGHT REAR BRANCH) )
E 4 8 Rear wire harness (see REAR WIRE HARNESS (RIGHT BRANCH) )
F 2 13 Rear wire harness (see REAR WIRE HARNESS (RIGHT BRANCH) )
G 5 8 Rear wire harness (see REAR WIRE HARNESS (RIGHT BRANCH) )
H 1 5 Rear wire harness (see REAR WIRE HARNESS (RIGHT BRANCH) )
J 3 8 Not used
Rear blower motor relay 10 5  
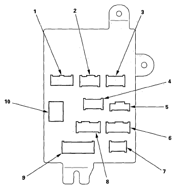
Fig 1: Identifying MICU-Rear Junction Box Terminals
G05526518Courtesy of AMERICAN HONDA MOTOR CO., INC.