LEMON Manuals: Even more car manuals for everyone: 1960-2025
Home >> Honda >> 2007 >> Odyssey EX >> Repair and Diagnosis >> External Pages >> Different car >> Section 18 (Navigation System) >> System Description >> Navigation Function >> Function Diagram >> Notes
April 5, 2026: LEMON Manuals is launched! Read the announcement.

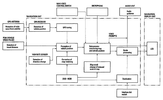
Function Diagram: Notes

WARNING: This page is about a different car, the 2009 Acura MDX, 2008 Acura MDX, and 2007 Acura MDX. However, it is still accessible from the selected car via links, so may be relevant.
Fig 1: Navigation System Function Diagram
G05488594Courtesy of AMERICAN HONDA MOTOR CO., INC.