LEMON Manuals: Even more car manuals for everyone: 1960-2025
Home >> Honda >> 2007 >> Odyssey EX >> Repair and Diagnosis >> External Pages >> Different car >> Section 19 (Audio System) >> Speaker Test/Replacement >> Tweeter
April 5, 2026: LEMON Manuals is launched! Read the announcement.

Speaker Test/Replacement: Tweeter

WARNING: This page is about a different car, the 2009 Acura MDX, 2008 Acura MDX, and 2007 Acura MDX. However, it is still accessible from the selected car via links, so may be relevant.
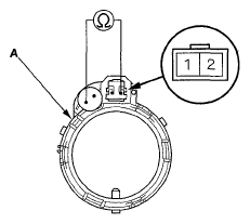
  1. Carefully pry the tweeter grille (A) out of the dashboard. Be careful not to damage the tweeter grille and the dashboard.
    Fig 1: Identifying Tweeter Grille And Connector
    G05488530Courtesy of AMERICAN HONDA MOTOR CO., INC.
  2. Disconnect the 2P connector (B) from the tweeter.
  3. Remove the tweeter speaker from the speaker grille.
    Fig 2: Identifying Capacitor
    G05488531Courtesy of AMERICAN HONDA MOTOR CO., INC.
  4. Check the capacitor (A) condition. If any problem is found, replace the tweeter.
  5. Measure the resistance between the tweeter (A) No. 2 terminal and the outside terminal of the capacitor.

    There should be about 6 Ω.

    Fig 3: Identifying Resistance Between Tweeter Terminal 2 And Outside Terminal Of Capacitor
    G05488532Courtesy of AMERICAN HONDA MOTOR CO., INC.
  6. If the resistance is not as specified, replace the tweeter.