LEMON Manuals: Even more car manuals for everyone: 1960-2025
Home >> Honda >> 2007 >> Pilot EX, 3.5 YF2 >> Repair and Diagnosis >> Body & Frame >> Power Windows >> Passenger's Power Window Switch Test/Replacement
April 5, 2026: LEMON Manuals is launched! Read the announcement.

Passenger's Power Window Switch Test/Replacement

  1. Carefully pry off the door switch trim (see FRONT DOOR PANEL REMOVAL/INSTALLATION ).
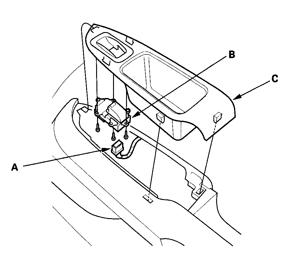
  2. Disconnect the 6P connector (A) from the power window switch (B), then remove the three mounting screws and the power window switch from the switch trim (C).

    Front Passenger's: 

    Fig 1: Removing Mounting Screws & Power Window Switch From Switch Trim (Front Passenger's)
    G04247338Courtesy of AMERICAN HONDA MOTOR CO., INC.

    Rear: 

    Fig 2: Removing Mounting Screws & Power Window Switch From Switch Trim (Rear)
    G04247339Courtesy of AMERICAN HONDA MOTOR CO., INC.
  3. Swap the window switch with another known-good switch and test. If the original window switch is faulty, replace it.