LEMON Manuals: Even more car manuals for everyone: 1960-2025
Home >> Honda >> 2007 >> Ridgeline RT >> Repair and Diagnosis >> Body & Frame >> Windows >> Power Windows >> Passenger's Power Window Switch Test/Replacement >> Front Passenger's
April 5, 2026: LEMON Manuals is launched! Read the announcement.

Front Passenger's

  1. Remove the front passenger's door panel (see COMPONENT LOCATION INDEX - FRONT DOOR ).
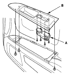
  2. Remove the four mounting screws, then remove the power window switch (A) from the switch panel (B).
    Fig 1: Identifying Power Window Switch And Switch Panel (Front Passenger's Side)
    G05593058Courtesy of AMERICAN HONDA MOTOR CO., INC.
  3. Swap the power window switch with another known-good switch and test. If the original power window switch is faulty; replace it.
  4. Install in the reverse order of removal.