LEMON Manuals: Even more car manuals for everyone: 1960-2025
Home >> Honda >> 2007 >> Ridgeline RT >> Repair and Diagnosis >> Transmission >> Automatic Trans >> Automatic Transmission >> ATF Level Check
April 5, 2026: LEMON Manuals is launched! Read the announcement.

ATF Level Check

NOTE: Keep all foreign particles out of the transmission.
  1. Warm up the engine to normal operating temperature (the radiator fan comes on).
  2. Park the vehicle on the level ground, and turn the engine off.
    NOTE: Check the fluid level within 60-90 seconds after turning the engine off.
  3. Remove the dipstick (yellow loop) (A) from the dipstick tube, and wipe it with a clean cloth.
    Fig 1: Identifying Dipstick (Yellow Loop)
    G05592412Courtesy of AMERICAN HONDA MOTOR CO., INC.
  4. Insert the dipstick into the tube.
  5. Remove the dipstick (A) and check the fluid level. It should be between the upper mark (B) and the lower mark (C).
    Fig 2: Identifying Dipstick Upper And Lower Mark
    G05592413Courtesy of AMERICAN HONDA MOTOR CO., INC.
  6. If the level is below the lower mark, check for fluid leaks at the transmission, hose and line joints, and cooler lines. If a problem is found, fix it before filling the transmission. If the level is above the upper mark, drain the ATF to proper level (see step  3 ).
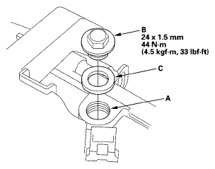
  7. If necessary fill the transmission with the recommended fluid through the filler hole (A) to the upper mark on the dipstick. Always use Honda ATF-Z1 Automatic Transmission Fluid (ATF). Using a non-Honda ATF can affect shift quality.
    Fig 3: ATF Filler Bolt With Torque Specifications
    G05592414Courtesy of AMERICAN HONDA MOTOR CO., INC.
  8. Install the ATF filler bolt (B) and a new sealing washer (C).