LEMON Manuals: Even more car manuals for everyone: 1960-2025
Home >> Honda >> 2007 >> Ridgeline RT >> Repair and Diagnosis >> Transmission >> Automatic Trans >> Automatic Transmission >> ATF Replacement
April 5, 2026: LEMON Manuals is launched! Read the announcement.

ATF Replacement

NOTE: Keep all foreign particles out of the transmission.
  1. Bring the transmission up to normal operating temperature (the radiator fan comes on).
  2. Park the vehicle on level ground.
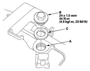
  3. Remove the ATF filler bolt and the drain plug (A), and drain the automatic transmission fluid (ATF).
    NOTE: If a cooler cleaning is done, refer to ATF COOLER CLEANING  .
    Fig 1: ATF Drain Plug With Torque Specifications
    G05592415Courtesy of AMERICAN HONDA MOTOR CO., INC.
  4. Reinstall the drain plug with a new sealing washer (B).
  5. Refill the transmission with the recommended fluid through the filler hole (A) to the upper mark on the dipstick. Always use Honda ATF-Z1 Automatic Transmission Fluid (ATF). Using a non-Honda ATF can affect shift quality.

    Automatic Transmission Fluid Capacity: 

    3.1 L (3.3 US qt) at change 

    8.1 L (8.6 US qt) at overhaul ('06 model) 

    8.0 L (8.4 US qt) at overhaul ('07-08 models) 

    Fig 2: ATF Filler Bolt And Sealing Washer With Torque Specifications
    G05592416Courtesy of AMERICAN HONDA MOTOR CO., INC.
  6. Install the ATF filler bolt (B) and a new sealing washer (C).