LEMON Manuals: Even more car manuals for everyone: 1960-2025
Home >> Honda >> 2007 >> Ridgeline RT >> Repair and Diagnosis >> Transmission >> Automatic Trans >> Automatic Transmission >> Shift Cable Replacement
April 5, 2026: LEMON Manuals is launched! Read the announcement.

Shift Cable Replacement

  1. Raise the vehicle on a lift, and make sure it is supported securely (see LIFT AND SUPPORT POINTS ).
  2. Remove the driver's dashboard lower cover (see DRIVER'S DASHBOARD LOWER COVER REMOVAL/INSTALLATION ).
  3. Remove the steering column covers (see STEERING COLUMN REMOVAL AND INSTALLATION ), and lower the steering column.
  4. Shift the transmission into the R position.
  5. Slide the lock tab (A) on the shift cable end holder (B) toward the shift cable socket holder.
    Fig 1: Sliding Lock Tab On Shift Cable End Holder Toward Shift Cable Socket Holder
    G05592573Courtesy of AMERICAN HONDA MOTOR CO., INC.
  6. Grasp the shift cable lock (C) in the middle with angle-jaw needle-nose pliers (D), and remove it from the shift cable end and the shift cable end holder. Do not pry the shift cable lock with a screwdriver, it may damage the shift cable end holder.
  7. Separate the shift cable end (A) from the shift cable end holder (B).
    Fig 2: Identifying Shift Cable End And Shift Cable End Holder
    G05592574Courtesy of AMERICAN HONDA MOTOR CO., INC.
  8. Rotate the socket holder (A) on the shift cable (B) a quarter turn; the tab (C) on the socket holder will be in the opening (D) of the socket holder bracket (E). Then slide the holder to remove the shift cable from the socket holder bracket.
    Fig 3: Removing Shift Cable From Socket Holder Bracket
    G05592575Courtesy of AMERICAN HONDA MOTOR CO., INC.
  9. Make sure you have the anti-theft codes for the audio system and the navigation system (if equipped).
  10. Disconnect the negative cable from the battery, then disconnect the positive cable.
  11. Remove the battery hold-down bracket, and remove the battery and the battery tray.
  12. Remove the intake manifold cover, the intake air duct, the resonator, and the air cleaner housing.
  13. Remove the battery base and the battery base bracket.
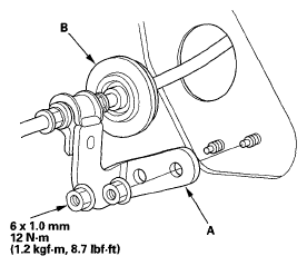
  14. Remove the nuts securing the shift cable bracket (A).
    Fig 4: Shift Cable, Spring Clip/Washer, Control Pin And Bracket With Torque Specifications
    G05592576Courtesy of AMERICAN HONDA MOTOR CO., INC.
  15. Remove the spring clip/washer (B) and the control pin (C), then separate the shift cable end (D) from the control lever (E).
  16. Remove the nuts securing the shift cable bracket (A).
    Fig 5: Spring Clip/Washer, Control Pin And Control Lever With Torque Specifications
    G05592577Courtesy of AMERICAN HONDA MOTOR CO., INC.
  17. Remove the shift cable grommet (B), and pull out the shift cable.
  18. Insert a new shift cable through the grommet hole, and install the grommet in its hole. Do not bend the shift cable excessively.
  19. Secure the shift cable bracket with the nuts.
  20. Attach the shift cable end to the control lever, then insert the control pin into the control lever hole through the shift cable end, and secure the control pin with the spring clip/washer.
  21. Secure the shift cable bracket with the nuts on the transmission housing.
  22. Verify that the transmission is in the R position at the control lever on the transmission range switch.
  23. If necessary, push the shift cable (A) until it stops, then release it. Pull the shift cable back one step so that the shift position is in R. Do not hold the shift cable guide (B) and the damper (C) to adjust the shift cable.
    Fig 6: Push And Pull Shift Cable So Shift Position Is In Reverse
    G05592578Courtesy of AMERICAN HONDA MOTOR CO., INC.
  24. Place the shift lever in R, then insert a 6.0 mm (0.24 in.) pin (A) through the positioning hole (B) on the shift lever link, and into the positioning hole on the shift lever bracket. The shift lever (C) is secured in the R position.
    Fig 7: Inserting 6.0 mm Pin Through Positioning Hole On Shift Lever Link
    G05592579Courtesy of AMERICAN HONDA MOTOR CO., INC.
  25. Rotate the socket holder (A) on the shift cable (B) to place the tab (C) on the holder opposite to the opening (D) in the socket holder bracket (E). Align the holder with the opening (F) in the bracket, then slide the holder into the bracket. Rotate the holder a quarter turn until the holder lock (G) stops at the projection (H) to secure the shift cable. Do not install the shift cable by twisting the shift cable guide (I) and the damper (J).
    Fig 8: Installing Shift Cable Into Socket Holder Bracket
    G05592580Courtesy of AMERICAN HONDA MOTOR CO., INC.
  26. Install the shift cable end (A) in the shift cable end holder (B). Keep the shift cable end and end holder free of grease.
    Fig 9: Identifying Shift Cable End And Shift Cable End Holder
    G05592581Courtesy of AMERICAN HONDA MOTOR CO., INC.
  27. Install the new shift cable lock (A) to secure the shift cable end and shift cable end holder, then slide the lock tab (B) toward the shift lever link until it stops to lock the joint (C).
    Fig 10: Identifying Shift Cable Lock And Tab
    G05592582Courtesy of AMERICAN HONDA MOTOR CO., INC.
  28. Remove the 6.0 mm (0.24 in.) pin that was installed to hold the shift lever.
  29. Install the battery base bracket and the battery base.
  30. Install the air cleaner housing, the resonator, the intake air duct, and the intake manifold cover.
  31. Install the battery tray, the battery, and the battery hold-down bracket, then connect the battery cables.
  32. Move the shift lever to each position, and check that the A/T gear position indicator follows the transmission range switch.
  33. Raise the vehicle on a lift, and allow all the wheels to rotate freely.
  34. Start the engine, and check the shift lever operation in all gears.
  35. Push the shift lock release, and verify that the shift lever releases.
  36. Install the steering column covers (see STEERING COLUMN REMOVAL AND INSTALLATION ).
  37. Install the driver's dashboard lower cover (see DRIVER'S DASHBOARD LOWER COVER REMOVAL/INSTALLATION ).
  38. Enter the anti-theft codes for the audio system and the navigation system (if equipped). Set the clock (on vehicles without navigation).
  39. Do the power window control unit reset procedure (see RESETTING THE POWER WINDOW CONTROL UNIT ).