LEMON Manuals: Even more car manuals for everyone: 1960-2025
Home >> Honda >> 2007 >> Ridgeline RTL >> Repair and Diagnosis (Single Page) >> Accessories & Equipment >> Cruise Control Systems >> Cruise Control Main Switch Test/Replacement
April 5, 2026: LEMON Manuals is launched! Read the announcement.

Cruise Control Main Switch Test/Replacement

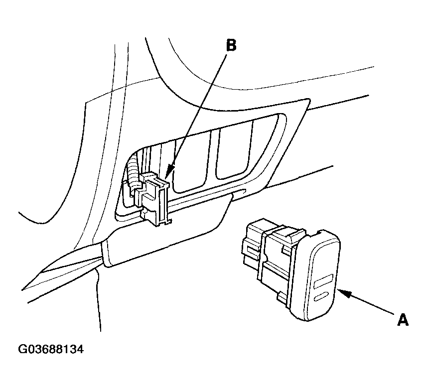
  1. Release the clips of the cruise control main switch, and push the cruise control main switch (A) out of the driver's dashboard lower cover.
    Fig 1: Pushing Cruise Control Main Switch
    G03688134Courtesy of AMERICAN HONDA MOTOR CO., INC.
  2. Disconnect the 5P connector (B), then remove the cruise control main switch.
  3. Check for continuity between the terminals in each switch position according to the table. If there is no continuity, replace illumination bulbs (A) or the switch.
    Fig 2: Checking For Continuity Between Terminals
    G03688135Courtesy of AMERICAN HONDA MOTOR CO., INC.