LEMON Manuals: Even more car manuals for everyone: 1960-2025
Home >> Honda >> 2007 >> Ridgeline RTL >> Repair and Diagnosis >> Transmission >> Automatic Trans >> Automatic Transmission >> Transfer Assembly >> Reassembly
April 5, 2026: LEMON Manuals is launched! Read the announcement.

Transfer Assembly: Reassembly

Special Tools Required 

NOTE:
  • While reassembling the transfer assembly:
    • Check and adjust the transfer gear tooth contact.
    • Measure and adjust the transfer gear backlash.
    • Check and adjust the tapered roller bearing starting torque.
  • Coat all parts with ATF during reassembly.
  • Replace the tapered roller bearing and the bearing outer race as a set if either part is replaced.
  • Replace the transfer hypoid drive gear and the transfer output shaft (hypoid gear) as a set if either part is replaced.
  1. Select the 40 mm thrust shim if the transfer output shaft (hypoid gear) is replaced. Calculate the thickness of the 40 mm thrust shim using the formula below (see Fig 1), and select the shim from the following table.
    Fig 1: Calculating Thrust Shim Thickness Formula (1 Of 2)
    G05592890Courtesy of AMERICAN HONDA MOTOR CO., INC.
    NOTE: The number on the transfer output shaft (hypoid gear) is shown in 1/100 mm. (See Fig 2).
    Fig 2: Calculating Thrust Shim Thickness Formula (2 Of 2)
    G05592891Courtesy of AMERICAN HONDA MOTOR CO., INC.

    THRUST SHIM, 40 mm 

    THRUST SHIM, 40 mm SPECIFICATIONS

    Shim No. Part Number Thickness
    A 29361-RDK-000 0.72 mm (0.028 in.)
    B 29362-RDK-000 0.75 mm (0.030 in.)
    C 29363-RDK-000 0.78 mm (0.031 in.)
    D 29364-RDK-000 0.81 mm (0.032 in.)
    E 29365-RDK-000 0.84 mm (0.033 in.)
    F 29366-RDK-000 0.87 mm (0.034 in.)
    G 29367-RDK-000 0.90 mm (0.035 in.)
    H 29368-RDK-000 0.93 mm (0.037 in.)
    I 29369-RDK-000 0.96 mm (0.038 in.)
    J 29370-RDK-000 0.99 mm (0.039 in.)
    K 29371-RDK-000 1.02 mm (0.040 in.)
    L 29372-RDK-000 1.05 mm (0.041 in.)
    M 29373-RDK-000 1.08 mm (0.043 in.)
    N 29374-RDK-000 1.11 mm (0.044 in.)
    O 29375-RDK-000 1.14 mm (0.045 in.)
  2. Select the 40 mm thrust shim if the tapered roller bearing on the transfer output shaft (hypoid gear) is replaced. Measure the thickness of the replacement bearing and the existing bearing, and calculate the difference of the bearing thickness. Adjust the thickness of the existing 40 mm thrust shim by the amount of difference in bearing thickness, and select the replacement 40 mm thrust shim.
  3. Install the 40 mm thrust shim (A) on the transfer output shaft (hypoid gear) (B), then install the tapered roller bearing (C) with the driver (40 mm I.D.) and a press.
    Fig 3: Installing Tapered Roller Bearing And Thrust Shim Onto Transfer Output Shaft (Hypoid Gear)
    G05592892Courtesy of AMERICAN HONDA MOTOR CO., INC.
  4. Place the tapered roller bearing on the bearing outer race of the companion flange side of the transfer housing.
  5. Install a new oil seal on the transfer housing with the driver, oil seal driver attachment, and the press.
    Fig 4: Installing Oil Seal Into Transfer Housing
    G05592893Courtesy of AMERICAN HONDA MOTOR CO., INC.
  6. Install the transfer output shaft (hypoid gear) (A) in the transfer housing (B). Do not install the thrust washers and transfer spacer on the transfer output shaft.
    Fig 5: Identifying Transfer Output Shaft (Hypoid Gear) And Transfer Housing
    G05592894Courtesy of AMERICAN HONDA MOTOR CO., INC.
  7. Install the companion flange (A), the conical spring washer (B) in the direction shown, and the locknut (C) on the transfer output shaft (hypoid gear) (D). Do not install the O-ring and back-up ring on the transfer output shaft.
    Fig 6: Identifying Companion Flange, Conical Spring Washer And Locknut
    G05592895Courtesy of AMERICAN HONDA MOTOR CO., INC.
  8. Secure the transfer housing (A) in a bench vise (B) with soft jaws, then install the companion flange holder on the companion flange. To prevent damage to the transfer housing, always use soft jaws or equivalent materials between the transfer housing and the vise.
  9. Tighten the locknut while measuring the starting torque of the transfer output shaft (hypoid gear) so the starting torque is within 1.15-1.71 N.m (11.7-17.4 kgf.cm, 10.2-15.1 lbf.in.).
    NOTE: Do not stake the locknut in this step.

    Starting Torque: 

    1.15-1.71 N.m 

    (11.7-17.4 kgf.cm, 10.2-15.1 lbf.in.) 

    Fig 7: Tightening Transfer Output Shaft Nut
    G05592896Courtesy of AMERICAN HONDA MOTOR CO., INC.
  10. Apply Prussian Blue to both sides of the transfer hypoid drive gear teeth lightly and evenly.
  11. Install the tapered roller bearing (A), the 25 mm thrust shim (B), and the transfer hypoid drive gear/shaft assembly (C) in the transfer housing (D).
    Fig 8: Tapered Roller Bearing, Thrust Shim, Transfer Hypoid Drive Gear/Shaft Assembly And Transfer Housing Cover With Torque Specifications
    G05592897Courtesy of AMERICAN HONDA MOTOR CO., INC.
  12. Install the transfer cover (E) and the bolts, and tighten the bolts. Do not install the O-ring on the transfer cover.
  13. Rotate the companion flange several times to seat the tapered roller bearings.
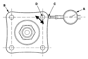
  14. Set a dial indicator (A) on the transfer companion flange (B); position dial indicator tip (C) on the direct extension of the bolt hole center (D).
    Fig 9: Measuring Transfer Gear Backlash
    G05592898Courtesy of AMERICAN HONDA MOTOR CO., INC.
  15. Measure the transfer gear backlash.

    Standard: 0.06-0.17 mm (0.002-0.007 in.) 

  16. Remove the transfer cover, the transfer hypoid drive gear/shaft assembly, and check the transfer hypoid drive gear tooth contact pattern.
    Fig 10: Identifying Transfer Hypoid Drive Gear Tooth Contact Pattern
    G05592899Courtesy of AMERICAN HONDA MOTOR CO., INC.
  17. If the measurement of the backlash is out of the standard, adjust the transfer gear backlash with the 40 mm thrust shim and recheck. Do not use more than two 40 mm thrust shims to adjust the transfer gear backlash.
  18. If the transfer gear tooth contact is incorrect, adjust the transfer gear tooth contact with the 25 mm or 40 mm thrust shim. Do not use more than two shims of each thrust shim to adjust the tooth contact.
    • Toe Contact

      Use a thinner 40 mm thrust shim to move the transfer output shaft (hypoid gear) away from the transfer hypoid drive gear. Because this movement causes the transfer gear backlash to change, move the transfer hypoid drive gear toward the transfer output shaft (hypoid gear) to adjust the transfer gear backlash as follows:

      • Reduce the thickness of the 25 mm thrust shim.
      • Increase the thickness of the 80 mm thrust shim by amount of reduce thickness of the 25 mm thrust shim.
    • Heel Contact

      Use a thicker 40 mm thrust shim to move the transfer output shaft (hypoid gear) toward the transfer hypoid drive gear. Because this movement causes the transfer backlash to change, move the transfer hypoid drive gear away from the transfer output shaft (hypoid gear) to adjust the transfer gear backlash as follows:

      • Increase the thickness of the 25 mm thrust shim.
      • Reduce the thickness of the 80 mm thrust shim by the amount of increase thickness of the 25 mm thrust shim.
    • Flank Contact

      Use a thicker 25 mm thrust shim to move the transfer hypoid drive gear away from the transfer output shaft (hypoid gear).

      Flank contact must be adjusted within the limits of the transfer gear backlash. If the backlash exceeds the limits, adjust as described under Heel Contact.

    • Face Contact

      Use a thinner 25 mm thrust shim to move the transfer hypoid drive gear toward the transfer output shaft (hypoid gear).

      Face contact must be adjusted within the limits of the transfer gear backlash. If the backlash exceeds the limits, adjust as described under Toe Contact.

    THRUST SHIM, 25 mm 

    THRUST SHIM, 25 mm SPECIFICATIONS

    Shim No. Part Number Thickness
    1.70 29411-P1C-000 1.70 mm (0.067 in.)
    1.73 29412-P1C-000 1.73 mm (0.068 in.)
    1.76 29413-P1C-000 1.76 mm (0.069 in.)
    1.79 29414-P1C-000 1.79 mm (0.070 in.)
    1.82 29415-P1C-000 1.82 mm (0.072 in.)
    1.85 29416-P1C-000 1.85 mm (0.073 in.)
    1.88 29417-P1C-000 1.88 mm (0.074 in.)
    1.91 29418-P1C-000 1.91 mm (0.075 in.)
    1.94 29419-P1C-000 1.94 mm (0.076 in.)
    1.97 29420-P1C-000 1.97 mm (0.078 in.)
    2.00 29421-P1C-000 2.00 mm (0.079 in.)
    2.03 29422-P1C-000 2.03 mm (0.080 in.)
    2.06 29423-P1C-000 2.06 mm (0.081 in.)
    2.09 29424-P1C-000 2.09 mm (0.082 in.)
    2.12 29425-P1C-000 2.12 mm (0.083 in.)
    2.15 29426-P1C-000 2.15 mm (0.085 in.)
    2.18 29427-P1C-000 2.18 mm (0.086 in.)
    2.21 29428-P1C-000 2.21 mm (0.087 in.)
    2.24 29429-P1C-000 2.24 mm (0.088 in.)
  19. Remove the transfer cover (A), transfer hypoid drive gear/shaft assembly (B), 25 mm thrust shim (C), and tapered roller bearing (D) from the transfer housing (E) after adjusting the transfer gear backlash or transfer gear tooth contact.
    Fig 11: Identifying Transfer Cover, Transfer Hypoid Drive Gear/Shaft Assembly, Thrust Shim And Tapered Roller Bearing
    G05592900Courtesy of AMERICAN HONDA MOTOR CO., INC.
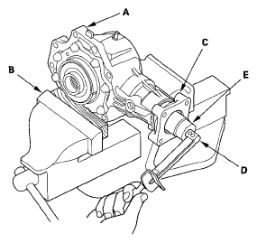
  20. Secure the transfer housing (A) in a bench vise (B) with soft jaws, then install the companion flange holder on the companion flange. To prevent damage to the transfer housing, always use soft jaws or equivalent materials between the transfer housing and the vise.
    Fig 12: Removing Locknut From Transfer Output Shaft (Hypoid Gear)
    G05592901Courtesy of AMERICAN HONDA MOTOR CO., INC.
  21. Remove the locknut (A), the conical spring washer (B), and the companion flange (C) from the transfer output shaft (hypoid gear) (D).
    Fig 13: Identifying Locknut, Conical Spring Washer, Companion Flange And Transfer Output Shaft (Hypoid Gear)
    G05592902Courtesy of AMERICAN HONDA MOTOR CO., INC.
  22. Remove the transfer output shaft (hypoid gear) from the transfer housing.
  23. Install the two thrust washers (A) and a new transfer spacer (B) on the transfer output shaft (hypoid gear) (C) in the direction shown, and install them in the transfer housing (D).
    Fig 14: Identifying Thrust Washers, Transfer Spacer And Transfer Output Shaft (Hypoid Gear)
    G05592903Courtesy of AMERICAN HONDA MOTOR CO., INC.
  24. Coat the threads of the locknut and transfer output shaft (hypoid gear) with ATF.
  25. Install the companion flange (A), a new O-ring (B), back-up ring (C), a new conical spring washer (D), and a new locknut (E) on the transfer output shaft (hypoid gear) (F). Install the conical spring washer in the direction shown.
    Fig 15: Identifying Companion Flange, O-Ring, Back-Up Ring, Conical Spring Washer And Locknut
    G05592904Courtesy of AMERICAN HONDA MOTOR CO., INC.
  26. Secure the transfer housing (A) in a bench vise (B) with soft jaws, then install the companion flange holder on the companion flange. To prevent damage to the transfer housing, always use soft jaws or equivalent materials between the transfer housing and the vise.
  27. Tighten the locknut while measuring the starting torque of the transfer output shaft (hypoid gear) so the starting torque is within 1.15-1.71 N.m (11.7-17.4 kgf.cm, 10.2-15.1 lbf.in.).

    Tightening Torque: 

    108-294 N.m 

    (11.0-30.0 kgf.m, 79.6-217 lbf.ft) 

    Starting Torque: 

    1.15-1.71 N.m 

    (11.7-17.4 kgf.cm, 10.2-15.1 lbf.in.) 

    Fig 16: Tightening Transfer Output Shaft Nut
    G05592905Courtesy of AMERICAN HONDA MOTOR CO., INC.
    NOTE:
    • Rotate the companion flange several times to seat the tapered roller bearings, then measure the starting torque.
    • If the starting torque exceeds 1.71 N.m (17.4 kgf.cm, 15.1 lbf.in), replace the transfer spacer and reassemble the parts. Do not adjust the torque with the locknut loose.
    • If the tightening torque exceeds 294 N.m (30.0 kgf.m, 217 lbf.ft), replace the transfer spacer and reassemble the parts.
  28. Remove the companion flange holder.
  29. Stake the locknut to a depth (A) of 0.7-1.2 mm (0.03-0.05 in.) using a 3.5 mm punch (B).
    Fig 17: Staking Locknut To Proper Depth
    G05592906Courtesy of AMERICAN HONDA MOTOR CO., INC.
  30. Install the tapered roller bearing (A), the 25 mm thrust shim (B), and the transfer hypoid drive gear/shaft assembly (C) in the transfer housing (D).
    Fig 18: Tapered Roller Bearing, Thrust Shim, Transfer Hypoid Drive Gear/Shaft Assembly And Transfer Housing Cover With Torque Specifications
    G05592907Courtesy of AMERICAN HONDA MOTOR CO., INC.
  31. Temporarily install the transfer cover (E) without the O-ring. Install and tighten the bolts.
  32. Secure the transfer housing (A) in a bench vise (B) with soft jaws, then install the companion flange holder on the companion flange. To prevent damage to the transfer housing, always use soft jaws or equivalent materials between the transfer housing and the vise.
    Fig 19: Measuring Starting Torque At Companion Flange
    G05592908Courtesy of AMERICAN HONDA MOTOR CO., INC.
  33. Rotate the transfer companion flange (C) several times to seat the tapered roller bearings.
  34. Measure the starting torque at the companion flange using a torque wrench (D) and a socket (E).

    Total Starting Torque: 

    3.20-4.16 N.m 

    (32.6-42.4 kgf.cm, 28.3-36.8 lbf.in.) 

  35. Remove the transfer cover.
  36. If the measurement is out of standard, remove the bearing outer race (A) and the 80 mm thrust shim (B) from the transfer cover (C). If the bearing outer race is press-fitted, remove the bearing outer race by heating the cover to about 212°F (100°C) with a heat gun (D). Do not heat the cover more than 212°F (100°C).
    Fig 20: Heating Cover To Remove Bearing Outer Race And Thrust shim
    G05592909Courtesy of AMERICAN HONDA MOTOR CO., INC.

    If the measurement is within the standard, go to step  41.

  37. Measure the thickness of removed 80 mm thrust shim, and select a new 80 mm shim.

    THRUST SHIM, 80 mm 

    THRUST SHIM, 80 mm SPECIFICATIONS

    Shim No. Part Number Thickness
    A 41401-RDK-000 1.52 mm (0.060 in.)
    B 41402-RDK-000 1.55 mm (0.061 in.)
    C 41403-RDK-000 1.58 mm (0.062 in.)
    D 41404-RDK-000 1.61 mm (0.063 in.)
    E 41405-RDK-000 1.64 mm (0.065 in.)
    F 41406-RDK-000 1.67 mm (0.066 in.)
    G 41407-RDK-000 1.70 mm (0.067 in.)
    H 41408-RDK-000 1.73 mm (0.068 in.)
    I 41409-RDK-000 1.76 mm (0.069 in.)
    J 41410-RDK-000 1.79 mm (0.070 in.)
    K 41411-RDK-000 1.82 mm (0.072 in.)
    L 41412-RDK-000 1.85 mm (0.073 in.)
    M 41413-RDK-000 1.88 mm (0.074 in.)
    N 41414-RDK-000 1.91 mm (0.075 in.)
    O 41415-RDK-000 1.94 mm (0.076 in.)
    P 41416-RDK-000 1.97 mm (0.078 in.)
    Q 41417-RDK-000 2.00 mm (0.079 in.)
    R 41418-RDK-000 2.03 mm (0.080 in.)
    S 41419-RDK-000 2.06 mm (0.081 in.)
    T 41420-RDK-000 2.09 mm (0.082 in.)
    U 41421-RDK-000 2.12 mm (0.083 in.)
    V 41422-RDK-000 2.15 mm (0.085 in.)
    W 41423-RDK-000 2.18 mm (0.086 in.)
    X 41424-RDK-000 2.21 mm (0.087 in.)
    Y 41425-RDK-000 2.24 mm (0.088 in.)
    Z 41426-RDK-000 2.27 mm (0.089 in.)
    AA 41427-RDK-000 2.30 mm (0.091 in.)
    AB 41428-RDK-000 2.33 mm (0.092 in.)
    AC 41429-RDK-000 2.36 mm (0.093 in.)
    AD 41430-RDK-000 2.39 mm (0.094 in.)
    AE 41431-RDK-000 2.42 mm (0.095 in.)
    AF 41432-RDK-000 2.45 mm (0.096 in.)
    AG 41433-RDK-000 2.48 mm (0.098 in.)
    AH 41434-RDK-000 2.51 mm (0.099 in.)
    AI 41435-RDK-000 2.54 mm (0.100 in.)
    AJ 41436-RDK-000 2.57 mm (0.101 in.)
    AK 41437-RDK-000 2.60 mm (0.102 in.)
    AL 41438-RDK-000 2.63 mm (0.104 in.)
    AM 41439-RDK-000 2.66 mm (0.105 in.)
  38. Install the 80 mm trust shim (A) and bearing outer race (B) in the transfer cover (C). If you heated the cover, let it cool to room temperature before installing the thrust shim.
    Fig 21: Identifying 80 mm Trust Shim, Bearing Outer Race And Transfer Cover
    G05592910Courtesy of AMERICAN HONDA MOTOR CO., INC.
  39. Drive the outer race securely in the cover with the driver and attachment (78 x 80 mm), so there is no clearance between the outer race, thrust shim, and cover.
    Fig 22: Installing Outer Race Into Transfer Cover
    G05592911Courtesy of AMERICAN HONDA MOTOR CO., INC.
  40. After replacing the 80 mm thrust shim, recheck and make sure that the total starting torque is within the specification.
  41. Install a new O-ring (A) on the transfer cover (B), then install the cover on the transfer housing (C).
    Fig 23: O-Ring, Transfer Cover And Fasteners With Torque Specifications
    G05592912Courtesy of AMERICAN HONDA MOTOR CO., INC.
  42. Remove the filler plug (A), then refill the transfer with transfer fluid (hypoid gear oil) through the filler hole. Use an SAE 90 or SAE 80W-90 viscosity hypoid gear oil, API classified GL4 or GL5 only.

    Viscosity 

    SAE 90: Above 0°F (-18°C) 

    SAE 80W-90: Below 0°F (-18°C) 

    Hypoid Gear Oil Capacity: 0.45 L (0.48 US qt) 

    Fig 24: Filler Plug And Sealing Washer With Torque Specifications
    G05592913Courtesy of AMERICAN HONDA MOTOR CO., INC.
  43. Install the filler plug with a new sealing washer (B).