LEMON Manuals: Even more car manuals for everyone: 1960-2025
Home >> Honda >> 2007 >> Ridgeline V6-3.5L >> Repair and Diagnosis >> Accessories and Optional Equipment >> Navigation System >> Navigation Module >> Service and Repair
April 5, 2026: LEMON Manuals is launched! Read the announcement.

Navigation Module: Service and Repair

Navigation Unit Removal/ Installation

NOTE: If the navigation unit is replaced or disconnected, a map match must be done.




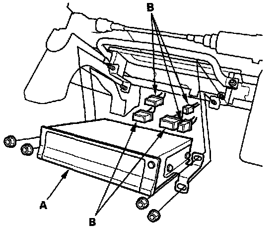
1. Remove the bolts, then pull out the navigation unit (A).
2. Disconnect the connectors (B), then remove the navigation unit.




3. Remove the screws and the bracket (A).
4. Install the navigation unit in the reverse order of removal.