LEMON Manuals: Even more car manuals for everyone: 1960-2025
Home >> Honda >> 2007 >> Ridgeline V6-3.5L >> Repair and Diagnosis >> Windows and Glass >> Windows >> Power Window Switch >> Service and Repair >> Back Window Switch Test/Replacement
April 5, 2026: LEMON Manuals is launched! Read the announcement.

Back Window Switch Test/Replacement

Back Window Switch Test/ Replacement

1. Remove the driver's door panel.




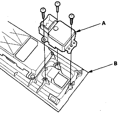
2. Remove the three mounting screws, then remove the back window switch (A) from the switch panel (B).
3. Swap the back window switch with another known-good switch and test. If the original back window switch is faulty; replace it.
4. Install in the reverse order of removal.
5. Reset the power window control unit.