LEMON Manuals: Even more car manuals for everyone: 1960-2025
Home >> Honda >> 2008 >> Accord L4-2.4L >> Repair and Diagnosis >> Body and Frame >> Frame >> Specifications
April 5, 2026: LEMON Manuals is launched! Read the announcement.

Frame: Specifications

Frame Repair Chart Part 1:



Frame Repair Chart Part 2:



Frame Repair Chart Part 3:



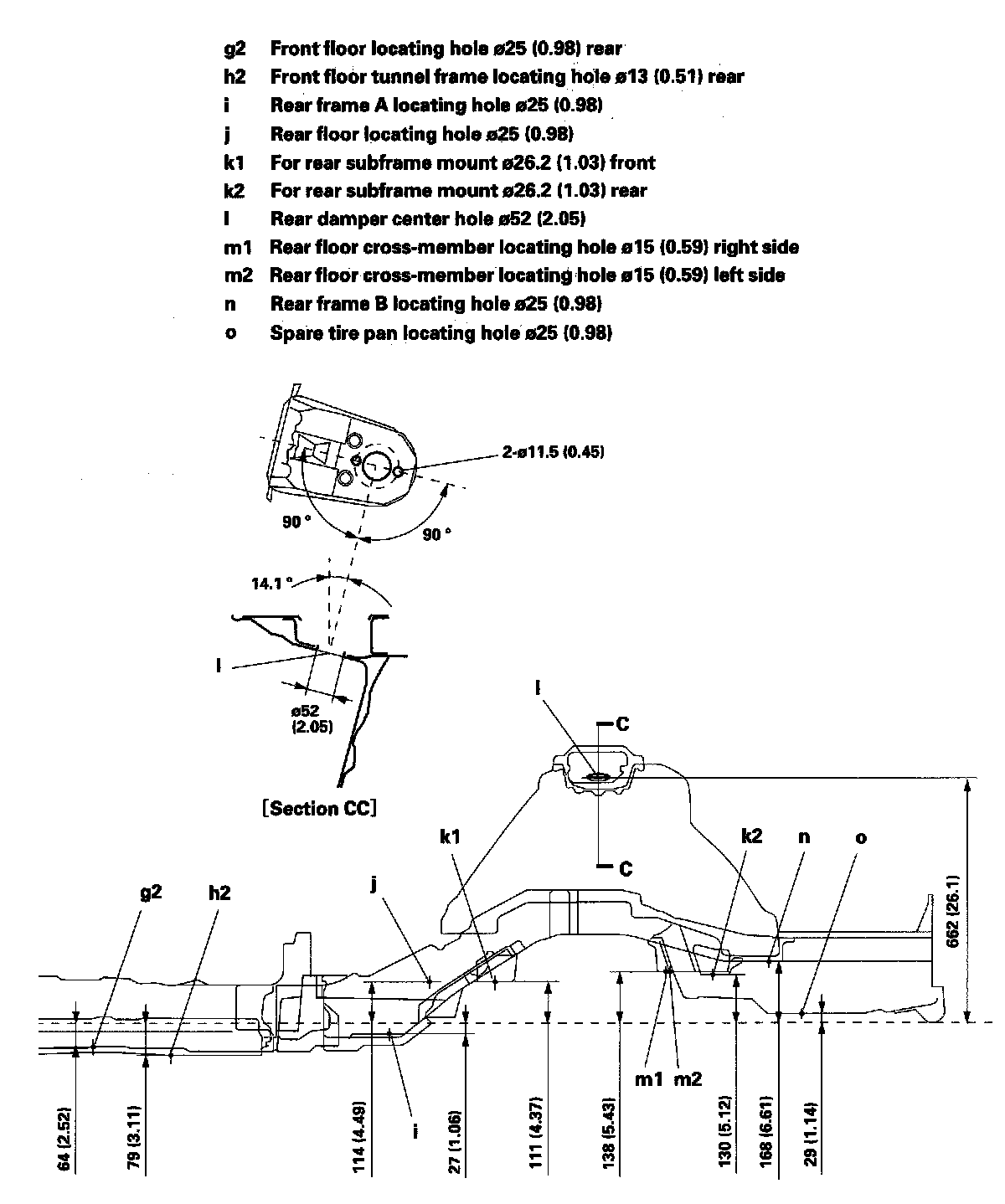
Frame Repair Chart Part 4: