LEMON Manuals: Even more car manuals for everyone: 1960-2025
Home >> Honda >> 2008 >> Accord L4-2.4L >> Repair and Diagnosis >> Heating and Air Conditioning >> Solar Sensor >> Service and Repair
April 5, 2026: LEMON Manuals is launched! Read the announcement.

Solar Sensor: Service and Repair

Sunlight Sensor Replacement

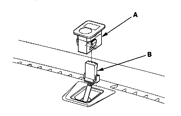
1. Remove the sunlight sensor (A) from the dashboard, then disconnect the connector (B). Be careful hot to damage the sensor and the dashboard.
2. Install the sensor in the reverse order of removal.