LEMON Manuals: Even more car manuals for everyone: 1960-2025
Home >> Honda >> 2008 >> Accord V6-3.5L >> Repair and Diagnosis >> Specifications >> Mechanical Specifications >> Engine >> Cylinder Block Assembly >> System Specifications >> General Specifications
April 5, 2026: LEMON Manuals is launched! Read the announcement.

General Specifications

Surface Variation





Cylinder Bore





Cylinder-to-Piston Clearance





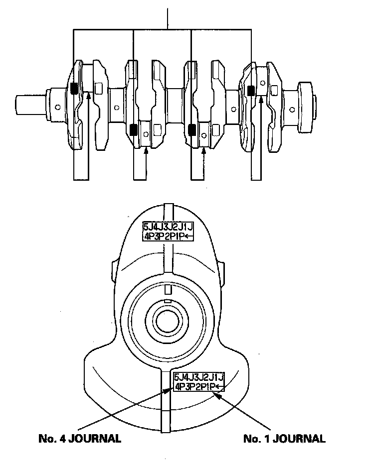
Crankshaft





Journal Taper
Standard (New) 0.005 mm (0.0002 in.) max.
Service Limit 0.010 mm (0.0004 in.)














Main Bearing





Tighten the bearing cap bolts, and then the bearing cap side bolts to the specified torque in the sequence as shown. Repeat the torque sequence again to ensure the bolts are properly torqued.














Connecting Rod

Each connecting rod has a tolerance range from 0 to 0.024 mm (0.0009 in.), in 0.006 mm (0.0002 in.) increments, depending on the size of its big end bore. It's then stamped with a number or bar (1, 2, 3, or 4/I, II, III, or IIII) indicating the range








Connecting Rod Bearing





Torque 20 N-m (2.0 kgf-m, 15 lbf-ft).











Piston




















Piston Rings

Top and 2nd ring grooves 1.2 mm (0.05 in.) wide
Oil ring groove 2.8 mm (0.11 in.) wide.

Piston Ring End-Gap

Top Ring:
Standard (New) 0.20 - 0.35 mm (0.008 - 0.014 in.)
Service Limit 0.60 mm (0.024 in.)

Second Ring:
Standard (New) 0.40 - 0.55 mm (0.016 - 0.022 in.)
Service Limit 0.70 mm (0.028 in.)

Oil Ring:
Standard (New) 0.20 - 0.70 mm (0.008 - 0.028 in.)
Service Limit 0.80 mm (0.031 in.)











Crankshaft Pulley

Torque 65 N-m (6.5 kgf-m, 48 lbf-ft)





Tighten the bolt an additional 60°