LEMON Manuals: Even more car manuals for everyone: 1960-2025
Home >> Honda >> 2008 >> Accord V6-3.5L >> Repair and Diagnosis >> Specifications >> Mechanical Specifications >> Engine >> System Specifications >> General Specifications
April 5, 2026: LEMON Manuals is launched! Read the announcement.

General Specifications

Cylinder Head

Torque 30 N-m (3.0 kgf-m, 22 lbf-ft)





After torquing, tighten all cylinder head bolts in two steps (90° per step). If you are using a new cylinder head bolt, tighten the bolt an extra 90°.





Measure the diameter of each cylinder head bolt at point A and point B.





If either diameter is less than 10.6 mm (0.42 in.), replace the cylinder head bolt.

Intake Manifold

Tighten the bolts and nuts sequentially in three steps.





Upper Cover

Tighten the bolts and nuts sequentially in three steps.




J35Z2 engine




J35Z3 engine:

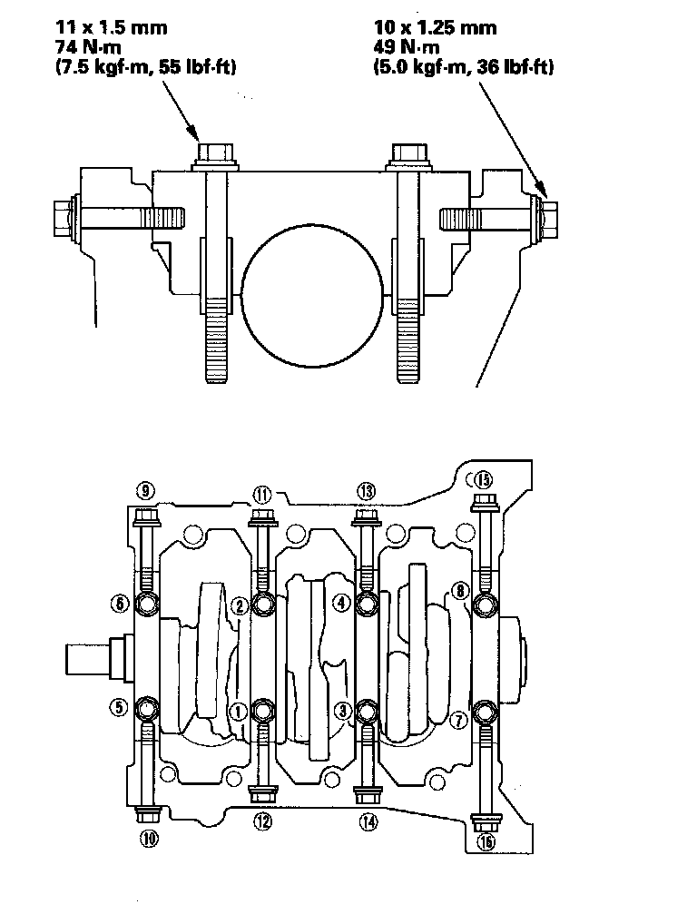
Main Bearing Cap

Tighten the bearing cap bolts, and then the bearing cap side bolts to the specified torque in the sequence as shown. Repeat the torque sequence again to ensure the bolts are properly torqued.





Rod Bearing Cap

Torque 20 N-m (2.0 kgf-m, 15 lbf-ft).





Crankshaft Pulley

Torque 65 N-m (6.5 kgf-m, 48 lbf-ft)





Tighten the bolt an additional 60°

Oil Pump





Water Pump