LEMON Manuals: Even more car manuals for everyone: 1960-2025
Home >> Honda >> 2008 >> CR-V 2WD L4-2.4L >> Repair and Diagnosis >> Powertrain Management >> Computers and Control Systems >> Description and Operation >> Electronic Throttle Control System
April 5, 2026: LEMON Manuals is launched! Read the announcement.

Electronic Throttle Control System




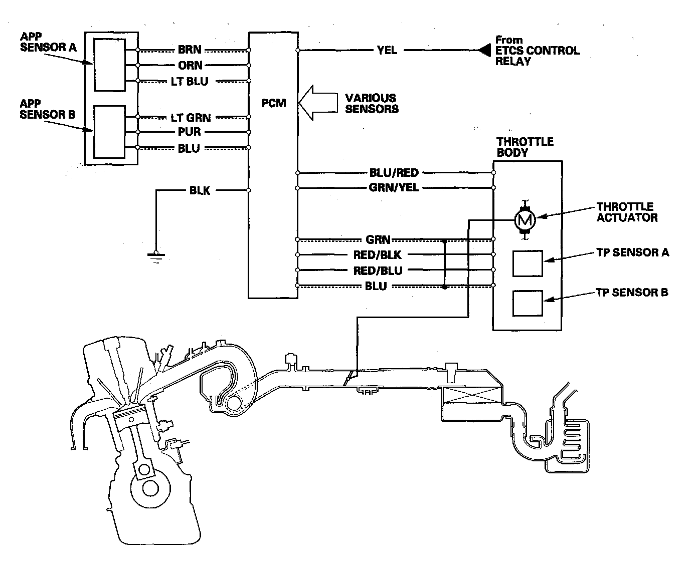
Electronic Throttle Control System Diagram
The electronic throttle control system consists of the throttle actuator, throttle position (TP) sensor A/B, accelerator pedal position (APP) sensor A/B, the electronic throttle control system (ETCS) control relay, and the PCM.