LEMON Manuals: Even more car manuals for everyone: 1960-2025
Home >> Honda >> 2008 >> Civic L4-1.8L >> Repair and Diagnosis >> Specifications >> Mechanical Specifications >> Engine >> Cylinder Block Assembly >> System Specifications >> General Specifications
April 5, 2026: LEMON Manuals is launched! Read the announcement.

General Specifications


Main Bearing







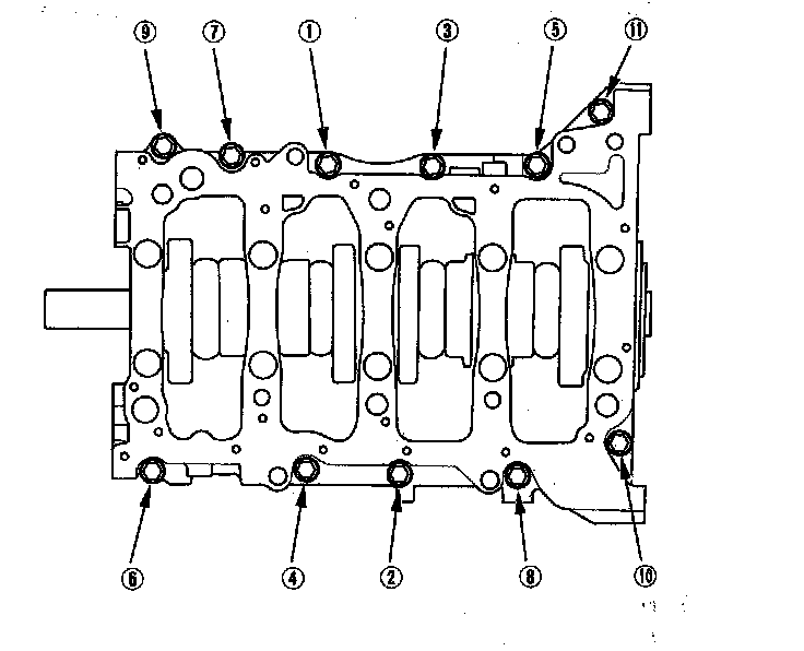
Torque the bearing cap bolts in sequence to 25 Nm (2.5 kgf-m, 18 lbf-ft) + 57°




Torque the 8mm bolts in sequence to 24 Nm (2.4 kgf-m, 17 lbf-ft)

Main Journal Code






Connecting Rod Cap




Difference in Diameter:
Specification: 0 - 0.1 mm (0 - 0.004 in.)




Tighten to 20 Nm (2.0 kgf-m, 14 lbf-ft) + 90°

Crankshaft Pulley







Tighten to 69 Nm (7.0 kgf-m, 51 lbf-ft) + 90°

Flywheel




Torque the flywheel mounting bolts (B) in a crisscross pattern in several steps.

Drive Plate




Tighten the eight bolts in a crisscross pattern in two or more steps

Oil Pump






Water Pump