LEMON Manuals: Even more car manuals for everyone: 1960-2025
Home >> Honda >> 2008 >> Civic Si L4-2.0L >> Repair and Diagnosis >> Specifications >> Mechanical Specifications >> Engine >> System Specifications >> General Specifications
April 5, 2026: LEMON Manuals is launched! Read the announcement.

General Specifications

Cylinder Head




If either diameter is less than 10.6 mm (0.42 in.), replace the cylinder head bolt.







Tighten to 39 Nm (4.0 kgf-m, 29 lbf-ft)
After torquing, tighten all cylinder head bolts in two steps (90° per step). If you are using a new cylinder head bolt, tighten the bolt an extra 90°

Intake Manifold




Tighten the bolts and nuts in a crisscross pattern in three steps, beginning with the inner bolt.

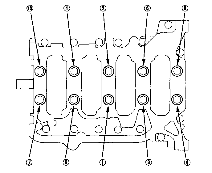
Main Bearing







Torque the bolts in sequence to 29 Nm (3.0 kgf-m, 22 lbf-ft) + 56°




Torque the 8mm bolts in sequence to 22 Nm (2.2 kgf-m, 16 lbf-ft)

Connecting Rod Cap




Tighten 29 Nm (3.0 kgf-m, 22 lbf-ft) + 90°

Crankshaft Pulley







Tighten 49 Nm (5.0 kgf-m, 36 lbf-ft) + 90°

Flywheel




Torque the flywheel mounting bolts (B) in a crisscross pattern in several steps.

Oil Pump






Exhaust Manifold
Exhaust Manifold Bolt 10 x 1.25 mm
Torque 45 Nm (4.5 kgf-m, 33 lbf-ft)



Water Pump