LEMON Manuals: Even more car manuals for everyone: 1960-2025
Home >> Honda >> 2008 >> Element 4WD L4-2.4L >> Repair and Diagnosis >> Powertrain Management >> Transmission Control Systems >> Testing and Inspection >> Component Tests and General Diagnostics >> D3 Switch Test/Replacement
April 5, 2026: LEMON Manuals is launched! Read the announcement.

D3 Switch Test/Replacement

D3 Switch Test/Replacement

1. Remove the center lower cover.
2. Remove the shift lever console trim.
3. Shift the shift lever into the R position.
4. Remove the shift cable insulator (A) from the shift cable (B).





5. Slide the lock tab (A) down on the shift cable end holder (B).





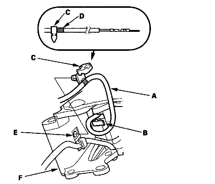
6. Grasp the shift cable lock (C) in the middle with angle-jaw needle-nose pliers (D), and remove it from the shift cable end and shift cable end holder. Do not pry the shift cable lock with a screwdriver, it may damage the shift cable end holder.
7. Separate the shift cable end (A) from the shift cable end holder (B).





8. Rotate the socket holder (A) on the shift cable (B) a quarter turn; the tab (C) on the socket holder will be in the opening (D) of the shift cable bracket (E). Then slide the holder to remove the shift cable from the shift cable bracket. Do not remove the shift cable by twisting the shift cable guide (F) and damper (G).





9. Remove the shift lever mounting bolts.





10. Remove the shift lever mounting bolt (A), and remove the shift cable bracket (B).





11. Remove the D3 switch/shift lock solenoid connector (C), then disconnect the connector.
12. Check for continuity between D3 switch/shift lock solenoid connector terminals No. 1 and No. 2 while pressing the D3 switch and when the switch is released. There should be continuity while pressing the D3 switch and no continuity when the switch is released.
13. If the D3 switch works properly, connect the connector and install the removed parts. If the switch is faulty, go to step 14, and replace the switch.
14. Remove the shift lever assembly.
15. Pry out the D3 switch cover (A), and remove it.





16. Remove the D3 switch (A) by expanding its locks, and remove the screws (B), shift lever button (C), spring (D), and shift lever knob (E).





17. Remove the A/T gear position indicator panel light socket (A), then separate the A/T gear position indicator panel (B) from the shift lever bracket (C).





18. Pry the lock tabs on the back of the D3 switch/shift lock solenoid connector (A), and remove the back cover (B).





19. Remove the terminal (C) from the connector by pushing the lock tab (D) up in the connector using a thin blade screwdriver (E). Remove all four terminals.
20. Remove the D3 switch harness clamp from the shift lever bracket and from the harness, and pull the D3 switch harness out to remove the shift lever assembly.
21. Insert the new D3 switch harness (A) into the shift lever ring (B), and route the harness through the groove (C) of the shift lever (D) into the hole (E). Do not pinch the harness.





22. Wind the D3 switch harness (A) one turn around the clamp (B) on the bottom of the shift lever.





23. Install the harness clamp (C) at the reference tape (D) on the harness, then install the clamp in the hole (E) of the shift lever bracket (F).
24. Install the A/T gear position indicator panel (A) on the shift lever bracket. Apply silicone grease to the shift lever button (B), spring (C), and push rod (D) of the shift lever (E), and install the spring, shift lever button, and shift lever knob (F). Apply non hardening thread lock sealant to screws (G), and secure the shift lever knob to the shift lever.





25. Install the D3 switch (H) and the D3 switch cover (I).
26. Install the A/T gear position indicator panel light socket.





27. Install the BLU/RED harness terminal (A) of the shift lock solenoid in the No. 3 cavity, and BLK harness terminal (B) in the No. 4 cavity.





28. Install the D3 switch harness terminals (C) in the No. 1 and No. 2 cavities. Either D3 switch harness terminal can be installed in No. 1 and No. 2 cavities.
29. Make sure that all four terminals lock securely, then install the back cover (D) securely in place.
30. Install the shift lever assembly.