LEMON Manuals: Even more car manuals for everyone: 1960-2025
Home >> Honda >> 2008 >> Fit L4-1.5L >> Repair and Diagnosis >> Specifications >> Mechanical Specifications >> Engine >> System Specifications >> General Specifications
April 5, 2026: LEMON Manuals is launched! Read the announcement.

General Specifications

Cylinder head
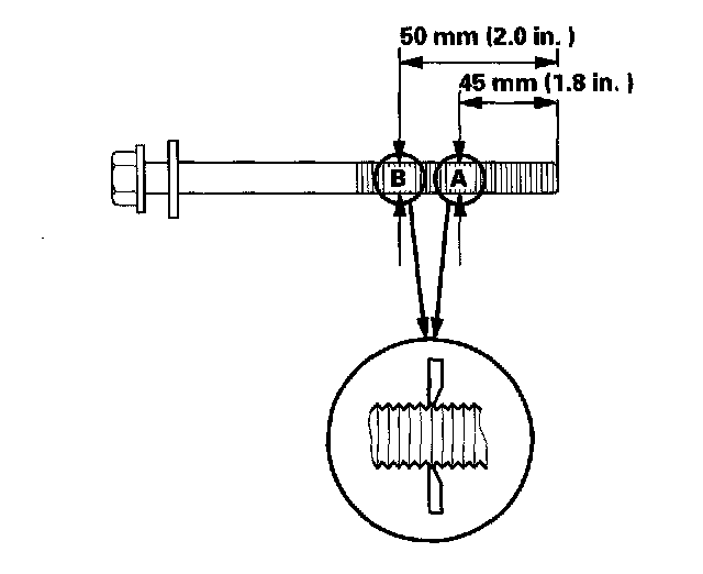
Measure the diameter of each cylinder head bolt at point A and point B.





If either diameter is less than 8.6 mm (0.34 in.), replace the cylinder head bolt.
Tighten the cylinder head bolts in sequence 29 Nm (3.0 kgf-m, 22 lbf-ft)





Tighten all cylinder head bolts an additional 130°.

Intake manifold





Install the intake manifold (B) and tighten the bolts and nuts in a crisscross pattern in three steps, beginning with the inner bolt.

Main bearing cap
Tighten the bearing cap bolts in sequence 25 Nm (2.5 kgf-m, 18 lbf-ft)





Tighten the bearing cap bolts an additional 40°

Connecting rod bolts
Tighten 9.8 Nm (1.0 kgf-m, 7.2 lbf-ft)
Tighten additional 90°

Crankshaft Pulley
-1 Hold the pulley with the holder handle (A) and pulley holder attachment (B), then tighten the bolt to 37 Nm (3.8 kgf-m, 27 lbf-ft) with a torque wrench and a heavy duty 19 mm socket (C). If the pulley bolt or crankshaft are new, tighten the bolt to 177 Nm (18.0 kgf-m, 130 lbf-ft), then remove the bolt and tighten it to 37 Nm (3.8 kgf-m, 27 lbf-ft).
-2 Mark the bolt head (D) and the crankshaft pulley (E) as shown, then tighten the bolt an additional 90° (The mark on the bolt head should line up with the mark on the crankshaft pulley).





Oil pump





Exhaust manifold
10 x 1.25 mm 44 Nm (4.5 kgf-m, 33 lbf-ft) Replace

Water pump