LEMON Manuals: Even more car manuals for everyone: 1960-2025
Home >> Honda >> 2008 >> Odyssey V6-3.5L >> Repair and Diagnosis >> Specifications >> Mechanical Specifications >> Engine >> System Specifications >> General Specifications
April 5, 2026: LEMON Manuals is launched! Read the announcement.

General Specifications

Cylinder Head

J35A6 Engine

Tighten the cylinder head bolts in sequence to 29 Nm (3.0 kgf-m, 22 lbf-ft).





After torquing, tighten all cylinder head bolts in two steps (90° per step). If you are using a new cylinder head bolt, tighten the bolt an extra 90°.





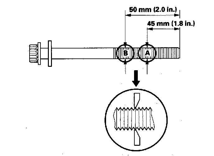
Measure the diameter of each cylinder head bolt at point A and point B.





If either diameter is less than 11.3 mm (0.44 in.), replace the cylinder head bolt.

J35A7 Engine

Tighten the cylinder head bolts in sequence to 30 N-m (3.0 kgf-m, 22 lbf-ft)





After torquing, tighten all cylinder head bolts in two steps (90° per step). If you are using a new cylinder head bolt, tighten the bolt an extra 90°.





Measure the diameter of each cylinder head bolt at point A and point B.





If either diameter is less than 10.6 mm (0.42 in.), replace the cylinder head bolt.

Intake Manifold





Tighten the bolts and nuts sequentially in three steps.

Main Bearing





Tighten the bearing cap bolts, and then the bearing cap side bolts, in the sequence as shown. Repeat the torque sequence again to ensure the bolts are properly torqued.

Rod Bearing

Tightening Torque 20 N-m (2.0 kgf-m, 15 lbf-ft) + 90°

Mark the connecting rod (A) and the bolt head (B) as shown.





Tighten the bolt until the mark on the bolt head lines up with the mark on the connecting rod (turn the bolt 90°).

Crankshaft Pulley

Torque 64 N-m (6.5 kgf-m, 47 lbf-ft)





Tighten the bolt an additional 60°

Oil Pump





Water Pump