LEMON Manuals: Even more car manuals for everyone: 1960-2025
Home >> Honda >> 2008 >> Pilot 4WD V6-3.5L >> Repair and Diagnosis >> Heating and Air Conditioning >> Control Assembly >> Service and Repair >> Climate Control Unit Removal/Installation
April 5, 2026: LEMON Manuals is launched! Read the announcement.

Climate Control Unit Removal/Installation

Climate Control Unit Removal/Installation

1. Remove the center panel.
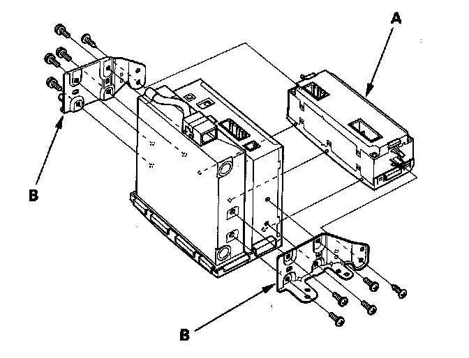
2. Remove the screws, and remove the climate control unit (A) with the brackets from the dashboard, then disconnect the connectors (B).






3. Remove the screws and the climate control unit (A) from the brackets (B).






4. Install the control unit in the reverse order of removal. After installation, operate the control unit controls to see whether it works properly.
5. Run the self-diagnostic function to confirm that there are no problems in the system.