LEMON Manuals: Even more car manuals for everyone: 1960-2025
Home >> Honda >> 2008 >> Pilot SE, 3.5 YF2 >> Repair and Diagnosis >> Engine Performance >> System >> EVAP System >> FTP Sensor Replacement
April 5, 2026: LEMON Manuals is launched! Read the announcement.

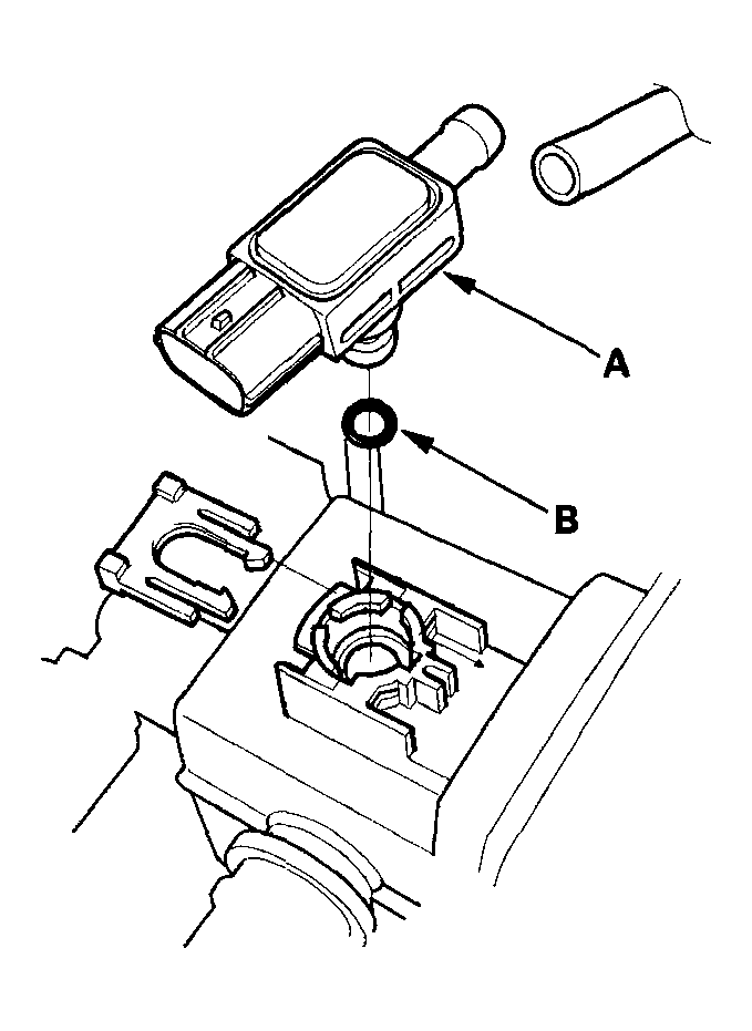
FTP Sensor Replacement

  1. Remove the EVAP canister (see EVAP CANISTER REPLACEMENT  ).
  2. Remove the FTP sensor (A).
    Fig 1: Removing FTP Sensor
    G04245600Courtesy of AMERICAN HONDA MOTOR CO., INC.
  3. Install the sensor in the reverse order of removal with a new O-ring (B).