LEMON Manuals: Even more car manuals for everyone: 1960-2025
Home >> Honda >> 2008 >> Ridgeline V6-3.5L >> Repair and Diagnosis >> Powertrain Management >> Transmission Control Systems >> Testing and Inspection >> Component Tests and General Diagnostics >> D3 Switch Test/Replacement
April 5, 2026: LEMON Manuals is launched! Read the announcement.

D3 Switch Test/Replacement

D3 Switch Test/Replacement
1. Remove the shift lever assembly.
2. Check for continuity between D3 switch/shift lock solenoid/park pin switch connector terminals No. 3 and No. 4 while pressing the D3 switch and when the switch is released.





3. There should be continuity while pressing the D3 switch, and there should be no continuity when the D3 switch is released.
4. If the D3 switch tests OK, install the shift lever assembly. If the switch is faulty, go to step 5, and replace the D3 switch.
5. Remove the harness clamps from the shift lever bracket, and remove the harnesses from the harness clamps.
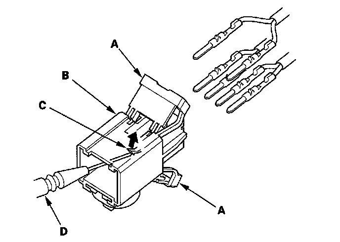
6. Pry up the lock covers (A) of the D3 switch/shift lock solenoid/park pin switch connector (B).





7. Remove the terminal (C) from the connector by pushing the lock tab up in the connector using a thin blade screwdriver (D). Remove all six terminals, and replace the connector.
8. Pry off the shift lever knob ring (A), and remove it.





9. Unlatch the D3 switch harness clamp on the shift lever bracket, pry out the D3 switch (B), and pull it from the knob.
10. Remove the D3 switch harness terminals by prying the lock tabs up with a thin blade screwdriver.





11. Pull the D3 switch harness wires (A) from shift lever bracket side, and remove the harness wires. Leave the harness tube (B) and remove only the wires.





12. Remove the shift lever knob from the shift lever.





13. Install a new shift lever knob on the shift lever.
14. Insert the new D3 switch harness wires (A) in the original harness tube (B), then tie a string (C) around the tube to secure the terminals in the tube.





15. Pull the old tube out of the shift lever knob side to install the D3 switch harness wires.





16. Remove the old harness tube from the D3 switch harness terminals.
17. Install the D3 switch harness terminals in the new D3 switch. Either harness terminal can be installed in either cavity.





18. Install the D3 switch (A) in the shift lever knob (B).





19. Install the new shift lever knob ring (C).
20. Install the RED harness terminal (A) of the shift lock solenoid in the No. 5 cavity, and the BLK harness terminal (B) in the No. 6 cavity.





21. Install the D3 switch harness terminals (WHT) (C) in the No. 3 and No. 4 cavities. Either D3 switch harness terminal can be installed in the No. 3 and No. 4 cavities.
22. Install the park pin switch harness terminals (BLK) (D) in the No. 1 and No. 2 cavities. Either park pin switch harness terminal can be installed in the No. 1 and No. 2 cavities.
23. Make sure that all six terminals lock securely, then install the lock covers (E) securely in place.
24. Install the D3 switch harness (A) in the harness clamp (B) at the mark (C).





25. Route the harnesses (A) through the guides (B).





26. Align the marks (C) on each harness, and tie the harness together into bundle with a new harness clamp (D) over the marks.
27. Tie the harness together into bundle with a new harness clamp, then install the harness clamp (E) on the shift lever bracket.
28. Install the shift lever assembly.
29. Check that the D3 switch operates.